Запчасти John Deere 90D 209 - Boom Cylinder 3360 HYDRAULIC SYSTEM

Схема запчастей John Deere 90D - 209 - Boom Cylinder 3360 HYDRAULIC SYSTEM
FIT
1:1
100%

Артикул

Название

Примечание

Количество

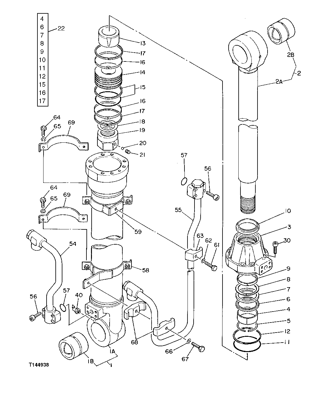
1

Hydraulic Cylinder Barrel

( AT127679 NLA)

1шт.

1A

Hydraulic Cylinder Barrel

(NSEP)

1шт.

1B

3051399

Bushing

(SUB FOR TH104903 ) (SUB FOR AT154116)

1шт.

2

4228677

Rod

(SUB FOR AT127678)

1шт.

2A

Rod

(SUB AT127678)

1шт.

2B

0140808

Bushing

(SUB FOR TH104905)

1шт.

3

0327403

Cylinder Head

(SUB FOR AT127326)

1шт.

4

AT264314

Wear Ring

(A) (SUB FOR T108041)

1шт.

5

AT132690

Snap Ring

(SUB FOR TH104908 OR 4004663)

1шт.

6

AT264315

Ring

(A) (SUB FOR T108042)

1шт.

7

AT264357

Seal

(A) (SUB FOR TH104925)

1шт.

8

AT264358

Back-Up Ring

(A) (SUB FOR TH104926)

1шт.

9

AT264316

Ring

(A) (SUB FOR T108043 ) (SUB FOR 4S00137)

1шт.

10

AT264276

Ring

(A) (SUB FOR TH104928, THIS A PPLICATION ) (SUB FOR AT176706)

1шт.

11

AT264320

O-Ring

(A) (SUB FOR T110448)

1шт.

12

TH109353

Back-Up Ring

(A)

1шт.

13

0327404

Sleeve

(SUB FOR AT127327)

1шт.

14

0310906

Piston

(SUB FOR TH109355)

1шт.

15

TH105767

Ring

(A)

1шт.

16

AT309608

Ring

(A) (SUB FOR TH109356, 4S00141)

2шт.

17

TH109357

Ring

(A) (SUB FOR AT309610)

2шт.

18

T108030

Shim

(SUB FOR 0309013)

1шт.

19

0309010

Nut

(SUB FOR T108025)

1шт.

20

T13624

Ball

1шт.

21

22M6684

Set Screw

M12 X 12

1шт.

22

AT194335

Seal Kit

(INCLUDES PARTS MARKED (A)) (SUB FOR AT176705)

1шт.

30

0310905

Screw

(SUB FOR AT127328 ) (SUB FOR TH109354)

8шт.

40

T116334

Lubrication Fitting

(SUB FOR TH100075)

1шт.

41

4216309

Hydraulic Cylinder

(SUB FOR AT127251)(INCLUDES ITEMS ONE THROUGH 40) (NOT ILLUSTRATED)

1шт.

Hydraulic Cylinder

REMAN (INCLUDES ITEMS ONE THROUGH 4 0) (NOT ILLUSTRATED) ( AT264208 NLA)

1шт.

54

0327411

Pipe

(ALSO ORDER 0327412 AND 4486953 ) (SUB FOR AT127329 OR 0327406)

1шт.

55

0327412

Pipe

(SUB FOR AT127330 OR 0327407 ) (A LSO ORDER 0327411 AND (8) 4486953)

1шт.

56

19M8213

Screw

M10 X 50 (SUB FOR T108034)

8шт.

57

AT264360

O-Ring

(SUB FOR TH104930, 4506430)

2шт.

58

0327408

Band

(SUB FOR AT127331)

1шт.

59

0327409

Band

(SUB FOR AT127332)

1шт.

61

19M7361

Cap Screw

M12 X 50 (SUB FOR T108037)

1шт.

62

12M7058

Lock Washer

12 mm (SUB FOR 12M7067)

1шт.

63

H238070

Clamp

(SUB FOR T108036)

1шт.

64

19M7550

Cap Screw

M10 X 35

4шт.

65

12M7066

Lock Washer

10 mm (SUB FOR TH111733)

4шт.

66

12H317

Lock Washer

9/16"

1шт.

67

19M4789

Cap Screw

M14 X 80

1шт.

68

0236915J

Half Clamp

(SUB FOR TH102783 OR 0236915)

2шт.

69

0327410

Band

(SUB FOR AT127333)

2шт.

70

Seal

(ROD AND HEAD END) (NOT ILLUSTRATED OR IN CLUDED IN CYLINDER ASSEMBLY - FOR DETAIL S EE BOOM AND ARM HYDRAULIC HOSES AND LINES)

4шт.

Выбрано товаров: 46