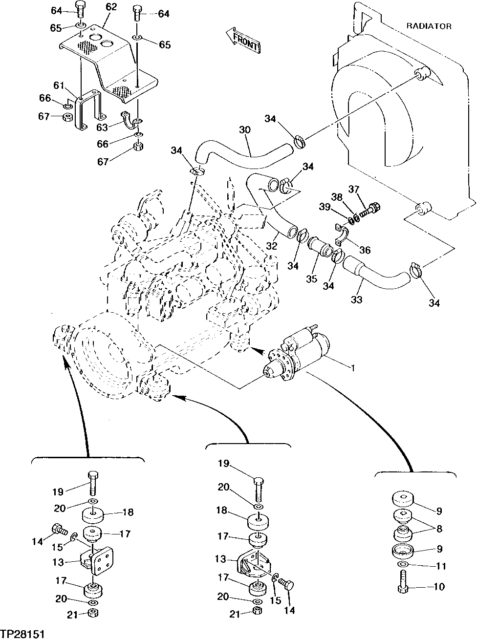
Запчасти John Deere 90D 18 - ENGINE MOUNTS, RADIATOR HOSES AND STEP 0400 REMOVAL AND INSTALLATION 4045TT008, 4276TT021 4045TT008, 4276TT021

Схема запчастей John Deere 90D - 18 - ENGINE MOUNTS, RADIATOR HOSES AND STEP 0400 REMOVAL AND INSTALLATION 4045TT008, 4276TT021 4045TT008, 4276TT021
FIT
1:1
100%

Артикул

Название

Примечание

Количество

1

RE70961

Starter Motor Kit

(SUB FOR RE65173 AND RE43422)

1шт.

8

4155171

Isolator

(SUB FOR TH100887)

4шт.

9

4189018

Retainer

(SUB FOR TH109410)

4шт.

10

19M8333

Cap Screw

M18 X 110 (SUB FOR TH103639)

2шт.

11

4114406

Washer

19 X 36 X 4.500 mm (SUB FOR TH100891)

2шт.

13

8028462

Bracket

(SUB FOR TH100892)

2шт.

14

19H2993

Cap Screw

1/2" X 1-1/2"

8шт.

15

12H301

Lock Washer

1/2"

8шт.

17

4155170

Isolator

(SUB FOR TH100894)

4шт.

18

4189018

Retainer

(SUB FOR TH109410)

2шт.

19

19M8970

Cap Screw

M18 X 120 (SUB FOR J931804)

2шт.

20

4114406

Washer

19 X 36 X 4.500 mm (SUB FOR TH100891)

4шт.

21

J951018

Nut

(SUB FOR TH100890)

2шт.

30

3044984

Hose

(SUB FOR AT126176)(WATER)

1шт.

32

3044305

Hose

(SUB FOR AT126172)(WATER)

1шт.

33

3034188

Hose

(SUB FOR TH103644)(WATER)

1шт.

34

TY22472

Clamp

(SUB FOR AT145651 OR AR21999)

6шт.

35

4183087

Line

(SUB FOR TH103645)(WATER)

1шт.

36

4053865

Clamp

(SUB FOR TH103646)

1шт.

37

19M7662

Cap Screw

M10 X 30

2шт.

38

12M7066

Lock Washer

10 mm

2шт.

39

24M7028

Washer

10.500 X 20 X 2 mm

2шт.

61

4191729

Bracket

(SUB FOR TH105595)

1шт.

62

3035975

Step

(SUB FOR TH105596)

1шт.

63

4053865

Clamp

(SUB FOR TH103646)

1шт.

64

19M7402

Cap Screw

M10 X 25

4шт.

65

24M7101

Washer

11 X 34 X 3 mm (SUB FOR TH101289)

4шт.

66

12M7066

Lock Washer

10 mm

4шт.

67

14M7274

Nut

M10

4шт.

Выбрано товаров: 29