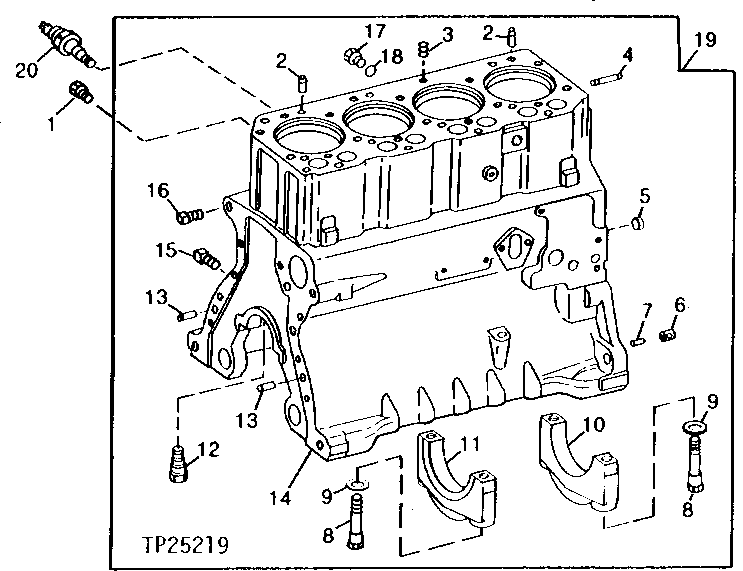
Запчасти John Deere 90D 28 - CYLINDER BLOCK AND MAIN BEARING CAPS 0404 CYLINDER BLOCK 4045TT008, 4276TT021 4045TT008, 4276TT021

Схема запчастей John Deere 90D - 28 - CYLINDER BLOCK AND MAIN BEARING CAPS 0404 CYLINDER BLOCK 4045TT008, 4276TT021 4045TT008, 4276TT021
FIT
1:1
100%

Артикул

Название

Примечание

Количество

1

R55233

Pipe Plug

6.350 mm

1шт.

2

R48685

Dowel Pin

2шт.

3

RE57836

Pipe Plug

12.700 mm (SUB FOR 15H561)

1шт.

4

T25701

Stud

1шт.

R122226

Stud

(SUB FOR R122226)

1шт.

5

T18891

Plug

2шт.

6

R57160

Bushing

6шт.

7

R26650

Dowel Pin

9.525 X 25.400 mm

2шт.

8

T23474

Cap Screw

12.700 X 95.250 mm

10шт.

9

T20168

Washer

13.106 X 21.996 X 2.286 mm

10шт.

10

R65215

Bearing Cap

4шт.

11

R79089

Cap

1шт.

12

R54802

Orifice

4шт.

13

R48685

Dowel Pin

2шт.

14

Cylinder Block

1шт.

15

R104592

Pipe Plug

3.175 mm (SUB FOR 15H558, THIS APPLICATION)

5шт.

16

15H562

Pipe Plug

1"

1шт.

17

R39741

Drain Plug

(WITHOUT ENGINE COOLANT HEATER)

1шт.

18

U13639

O-Ring

37.465 X 2.997 mm (WITHO UT ENGINE COOLANT HEATER)

1шт.

19

RE31517

Cylinder Block

(MARKED R90170 ) (SUB RE50671 ) (ALSO ORDER R83169, T27658, R111135, R111137 AND R112867)

1шт.

20

AT85174

Switch

(ENGINE OIL PRESSURE)

1шт.

Выбрано товаров: 21