Запчасти John Deere 90D 39 - ENGINE OIL PUMP 0407 ENGINE OILING SYSTEM 4045TT008, 4276TT021 4045TT008, 4276TT021

Схема запчастей John Deere 90D - 39 - ENGINE OIL PUMP 0407 ENGINE OILING SYSTEM 4045TT008, 4276TT021 4045TT008, 4276TT021
FIT
1:1
100%

Артикул

Название

Примечание

Количество

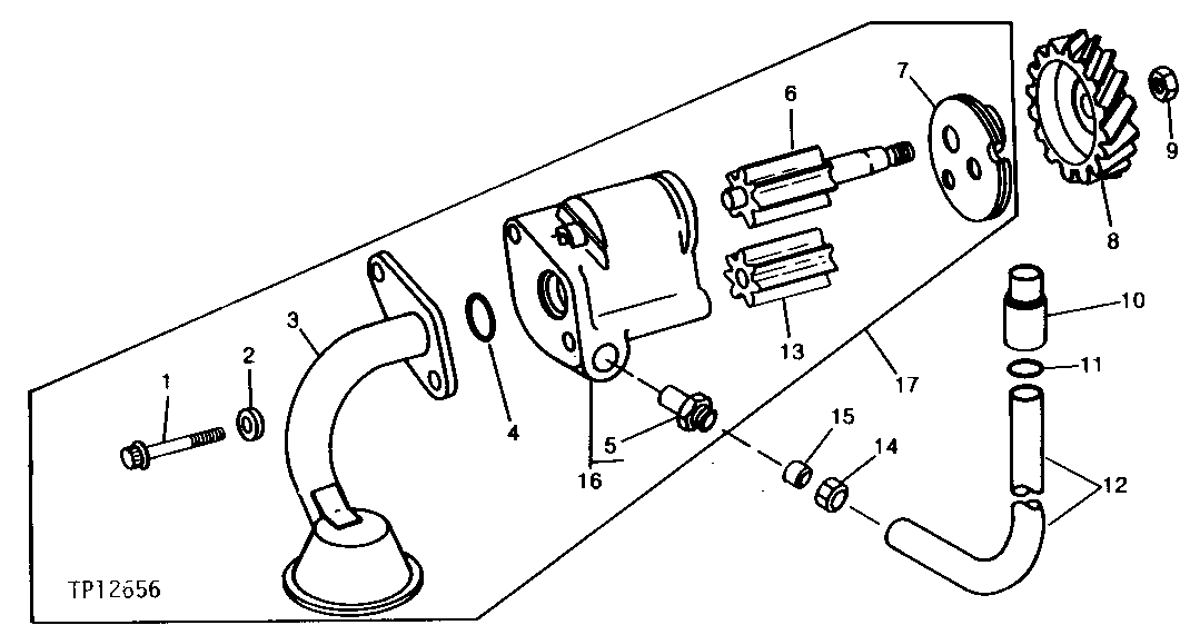
1

R116424

Screw

9.525 X 107.950 mm (SUB FOR R74552, THI S APPLICATION ) (ALSO ORDER (2) R74553)

2шт.

2

R74553

Washer

10 X 16 X 3.050 mm (USE WITH R116424)

2шт.

3

RE19651

Oil Pump Intake

1шт.

4

R61871

O-Ring

24.994 X 3.531 mm

1шт.

5

R79560

Adapter Fitting

1шт.

6

AR85788

Shaft

(7 TEETH)

1шт.

7

R54632

Cover

1шт.

8

T20298

Gear

(33 TEETH)

1шт.

9

14H826

Nut

1/2"

1шт.

10

R54815

Fitting

1шт.

R115390

Bushing

16.260 X 21.612 X 36 mm (USE WIT H CYLINDER BLOCK, MARKED R108755)

1шт.

11

R80632

O-Ring

18.771 X 1.778 mm (SUB FOR R77052)

2шт.

R97185

O-Ring

15.469 X 3.531 mm (USE WITH C YLINDER BLOCK, MARKED R108755)

1шт.

12

R79561

Oil Tube

1шт.

R112867

Oil Tube

(USE WITH CYLINDER BLOCK, MARKED R108755)

1шт.

13

R66177

Gear

(7 TEETH)

1шт.

14

R79562

Fitting

1шт.

15

R79563

Sleeve

1шт.

16

RE15490

Housing

1шт.

17

AR79464

Oil Pump

1шт.

Выбрано товаров: 20