Запчасти John Deere 95 2 - REPLACEMENT FUEL INJECTION NOZZLE 413 - ENGINE 4

Схема запчастей John Deere 95 - 2 - REPLACEMENT FUEL INJECTION NOZZLE 413 - ENGINE 4
FIT
1:1
100%

Артикул

Название

Примечание

Количество

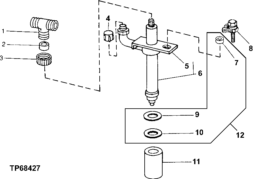
1

R79606

TEE FITTING

1шт.

2

R79605

WASHER

1шт.

3

R79604

TUBE NUT

1шт.

4

CAP (HAT)

( T31174 NO LONGER AVAILABLE) (USE FOR SERVICING NOZZLE)

1шт.

5

R67779

CLAMP

1шт.

6

RE37503

INJECTION NOZZLE

(STANADYNE NO. 26993 )

1шт.

SE500824

NOZZLE

(PKG OF 4) (REMANUFACTURED FOR RE37503)

1шт.

SE501100

NOZZLE

(SINGLE PACK) (REMANUFACTURED FOR RE37503)

ARшт.

7

RE32011

O-RING KIT

(SUB FOR R92351)

1шт.

8

R34760

CLAMP

WITH SCREW AND WASHER

1шт.

9

R92352

PACKING

1шт.

10

R48000

SEAL

1шт.

11

T24472

CAP

(USE FOR SERVICING NOZZLE)

1шт.

12

RE32011

O-RING KIT

NOZZLE

1шт.

Выбрано товаров: 14