Запчасти John Deere 95 4 - FUEL INJECTION SYSTEM 413 - ENGINE 4

Схема запчастей John Deere 95 - 4 - FUEL INJECTION SYSTEM 413 - ENGINE 4
FIT
1:1
100%

Артикул

Название

Примечание

Количество

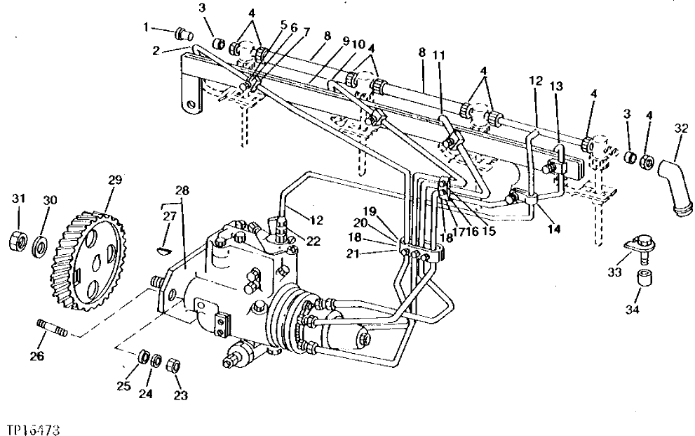
1

16H658

RIVET

1/4" X 5/8"

1шт.

2

AR79664

FUEL LINE

NO. 1

1шт.

3

R51936

SEALING WASHER

8шт.

4

R51937

TUBE NUT

8шт.

5

19H2664

CAP SCREW

5/16" X 3/4"

4шт.

6

24H1136

WASHER

11/32" X 11/16" X 0.065"

4шт.

7

R63657

CLAMP

4шт.

8

R66090

TUBE

2шт.

9

AR79669

SUPPORT

1шт.

10

AR79665

FUEL LINE

NO. 2

1шт.

11

AR79666

FUEL LINE

NO. 3

1шт.

12

AR85615

LINE

1шт.

13

AR79667

FUEL LINE

NO. 4

1шт.

14

T29969

CLAMP

1шт.

15

R59297

HALF CLAMP

2шт.

16

R59298

STRAP

1шт.

17

R61145

STRAP

1шт.

18

AR76704

SCREW

5шт.

19

R59299

CLAMP

2шт.

20

R59300

STRAP

1шт.

21

R61146

STRAP

1шт.

22

R35352

FITTING

1шт.

23

14H785

NUT

5/16"

3шт.

24

12H303

LOCK WASHER

5/16"

3шт.

25

T27860

WASHER

3шт.

26

R56055

STUD

3шт.

27

H64373

SHAFT KEY

(SUB FOR R56424 OR M114270) (CUT TO LENGTH)

1шт.

28

RE22468

FUEL INJECTION PUMP

(A) (ROOSA-MASTER NO. DM44274513)

1шт.

SE500628

FUEL INJECTION PUMP

(A)

1шт.

29

R56056

GEAR

(48-TEETH)

1шт.

30

R56423

WASHER

1шт.

31

R56422

NUT

1шт.

32

RE16142

FUEL LINE

1шт.

33

R34760

CLAMP

1шт.

34

R60745

SPACER

(K)

1шт.

Выбрано товаров: 35