Запчасти John Deere 95 1 - COLD WEATHER STARTING AID 505 - ENGINE AUXILIARY SYSTEM 5

Схема запчастей John Deere 95 - 1 - COLD WEATHER STARTING AID 505 - ENGINE AUXILIARY SYSTEM 5
FIT
1:1
100%

Артикул

Название

Примечание

Количество

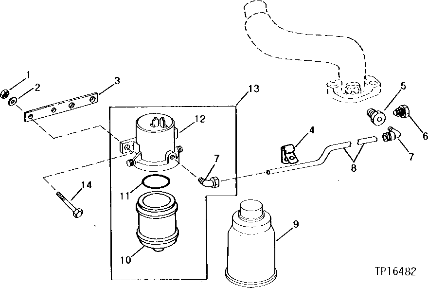
1

14H785

NUT

5/16"

2шт.

2

12H303

LOCK WASHER

5/16"

2шт.

3

R82427

STRAP

1шт.

4

T14264

CLAMP

1шт.

5

R47160

NOZZLE HOLDER

1шт.

6

T155858

NOZZLE

(SUB FOR R28583)

1шт.

7

RE21790

ELBOW FITTING

(SUB FOR AT25266)

2шт.

8

HOSE

(MAKE FROM T78593 BULK MATERIAL, CUT TO LENGTH)

1шт.

9

RE33636

STARTING FLUID

(SUB FOR AR27814, RE24561 AND RE30174)

1шт.

10

R73498

CONTAINER

1шт.

11

T13119

O-RING

1шт.

12

SOLENOID

(SUB RE48311)

1шт.

13

RE48311

STARTING AID

(SUB FOR AT105778 OR AT125915)

1шт.

14

19H2127

CAP SCREW

5/16" X 7/8"

2шт.

Выбрано товаров: 14