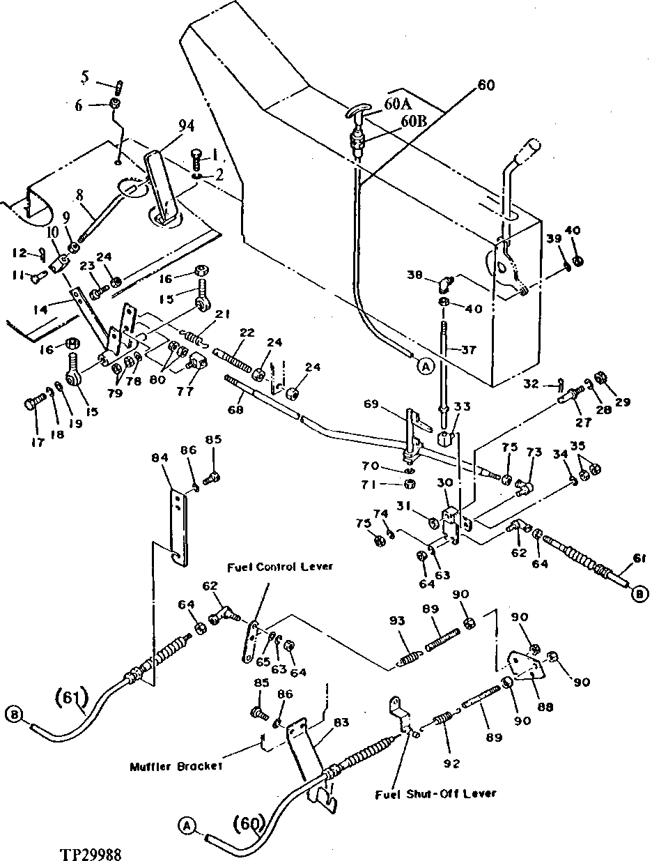
Запчасти John Deere 95 2 - ENGINE SPEED CONTROLS 515 - ENGINE AUXILIARY SYSTEM 5

Схема запчастей John Deere 95 - 2 - ENGINE SPEED CONTROLS 515 - ENGINE AUXILIARY SYSTEM 5
FIT
1:1
100%

Артикул

Название

Примечание

Количество

1

19M7923

CAP SCREW

M6 X 12

2шт.

2

12M7006

LOCK WASHER

6 MM

2шт.

5

4172075

STUD

(SUB FOR TH103786)

1шт.

6

14M7274

NUT

M10

1шт.

8

4147994

HOOK BOLT

(SUB FOR TH103787)

1шт.

9

14M7272

NUT

M6

1шт.

10

M980642

YOKE

(SUB FOR TH103788)

1шт.

11

45M7009

PIN FASTENER

6 X 16 MM, (SUB FOR TH102007)

1шт.

12

11M7005

COTTER PIN

1.600 X 10 MM, (SUB FOR TH102008)

1шт.

14

9722361

LEVER

(SUB FOR TH103789)

1шт.

15

4041959

LINK END

(SUB FOR TH103790)

2шт.

16

J952014

NUT

(SUB FOR TH103791)

2шт.

17

19M7493

CAP SCREW

M12 X 40

1шт.

18

12H301

LOCK WASHER

1/2"

1шт.

19

24M7047

WASHER

13 X 24 X 2.500 MM

1шт.

21

4501982

EXTENSION SPRING

(SUB FOR TH102074)

1шт.

22

4147995

STUD

(SUB FOR TH103792)

1шт.

23

19M7358

CAP SCREW

M10 X 40

1шт.

24

14M7274

NUT

M10

3шт.

27

4171155

PIN FASTENER

(SUB FOR TH103793)

1шт.

28

12H301

LOCK WASHER

1/2"

1шт.

29

14M7275

NUT

M12

1шт.

30

9722059

LEVER

(SUB FOR TH103794)

1шт.

31

24M7085

WASHER

15 X 28 X 2.500 MM, (SUB FOR TH102583)

1шт.

32

11M7015

COTTER PIN

3.200 X 25 MM

1шт.

33

4161367

PIVOT

(SUB FOR TH103796)

1шт.

34

24M7028

WASHER

10.500 X 20 X 2 MM, (SUB FOR TH100263)

1шт.

35

14M7274

NUT

M10

2шт.

37

9720588

STUD

(SUB FOR TH103797)

1шт.

38

4056017

BALL JOINT

(SUB FOR TH102073)

1шт.

39

12M7006

LOCK WASHER

6 MM

1шт.

40

14M7272

NUT

M6

2шт.

60

4284367

CABLE

(SUB FOR TH105608) (SUB FOR AT131281) FUEL SHUT-OFF

1шт.

60A

T114379

HANDLE

(SUB FOR TH108083) (6 MM THREADS) (FITS 95° OF MACHINES)

1шт.

T114380

HANDLE

(5 MM THREADS) (FITS 5° OF MACHINES)

1шт.

60B

4285479

NUT

(SUB FOR AT131248) (SUB FOR AT131285)

1шт.

61

4236045

PUSH PULL CABLE

(SUB FOR TH105609)

1шт.

62

4056016

BALL JOINT

(SUB FOR TH100325)

2шт.

63

12M7064

LOCK WASHER

5 MM

2шт.

64

14M7297

NUT

M5

4шт.

65

24M7027

WASHER

5.300 X 10 X 1 MM, (SUB FOR TH100540)

1шт.

68

3029834

ROD

(SUB FOR TH103813)

1шт.

69

8032010

CAM

(SUB FOR TH103814)

1шт.

70

12M7066

LOCK WASHER

10 MM, (SUB FOR TH100417)

1шт.

71

14M7274

NUT

M10

1шт.

73

4056017

BALL JOINT

(SUB FOR TH102073)

1шт.

74

12M7006

LOCK WASHER

6 MM

1шт.

75

14M7272

NUT

M6

2шт.

77

487345

JUNCTION BLOCK

(SUB FOR TH102070)

1шт.

78

24M7054

WASHER

6.400 X 12 X 1.600 MM, (SUB FOR TH100278)

1шт.

79

14M7272

NUT

M6

2шт.

80

14M7273

NUT

M8

2шт.

83

8036135

BRACKET

(SUB FOR TH105610)

1шт.

84

4191518

BRACKET

(SUB FOR TH105611)

1шт.

85

19M7938

CAP SCREW

M10 X 20

4шт.

86

12M7066

LOCK WASHER

10 MM, (SUB FOR TH100417)

4шт.

88

4192958

BRACKET

(SUB FOR TH105612)

1шт.

89

4147995

STUD

(SUB FOR TH103792)

2шт.

90

14M7274

NUT

M10

4шт.

92

4192959

SPRING

(SUB FOR TH105613)

1шт.

93

4192960

SPRING

(SUB FOR TH105614)

1шт.

94

4075155

PEDAL

(SUB FOR TH103785)

1шт.

Выбрано товаров: 62