Запчасти John Deere 95 1 - AIR CLEANER 520 - ENGINE AUXILIARY SYSTEM 5

Схема запчастей John Deere 95 - 1 - AIR CLEANER 520 - ENGINE AUXILIARY SYSTEM 5
FIT
1:1
100%

Артикул

Название

Примечание

Количество

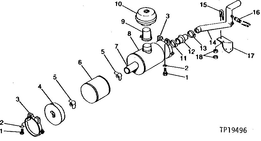
1

19M8324

CAP SCREW

M10 X 16

4шт.

2

12M7066

LOCK WASHER

10 MM, (SUB FOR TH100417)

4шт.

3

AR35435

CLAMP

2шт.

4

AT71475

COVER

(SUB FOR TH100921)

1шт.

5

AH20849

WING NUT

(SUB FOR TH100920)

2шт.

6

AT39124

FILTER ELEMENT

1шт.

7

AT31227

FILTER ELEMENT

1шт.

8

4158654

BASE

(SUB FOR TH100917)

1шт.

9

AH81443

AIR INTAKE STACK

1шт.

10

AT27822

PRECLEANER

1шт.

11

AT37477

HOSE CLAMP

1шт.

12

4155756

SUCTION HOSE

(SUB FOR TH100926)

1шт.

13

AT37476

HOSE CLAMP

1шт.

14

8034366

LINE

(SUB FOR TH103649)

1шт.

15

4179654

U-BOLT

(SUB FOR TH100932)

1шт.

16

4224238

INDICATOR

(SUB TH108915 OR TH100933) (SUB FOR AT131922)

1шт.

17

3034189

BRACKET

(SUB FOR TH103650)

1шт.

18

14M7444

NUT

M10, (SUB FOR TH100255)

4шт.

Выбрано товаров: 18