Запчасти John Deere 95 14 - STEERING CYLINDER 960 - STEERING SYSTEM 9

Схема запчастей John Deere 95 - 14 - STEERING CYLINDER 960 - STEERING SYSTEM 9
FIT
1:1
100%

Артикул

Название

Примечание

Количество

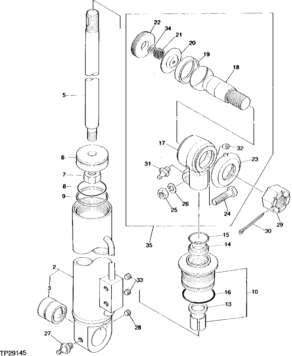
1

4193206

HYDRAULIC CYLINDER

(SUB FOR TH105585) (NOT ILLUSTRATED) (INCLUDES KEYS 2 THRU 16)

1шт.

2

0267201

HYDRAULIC CYLINDER BARREL

(SUB FOR TH104966)

1шт.

3

0267202

BUSHING

(SUB FOR TH104967)

1шт.

5

0267204

ROD

(SUB FOR TH104969)

1шт.

6

0267205

PISTON

(SUB FOR TH104970)

1шт.

7

14M7447

NUT

M18

1шт.

8

AT264364

O-RING

(K) (SUB FOR TH104972, 965968)

1шт.

9

AT264365

SEAL

(K) (SUB FOR TH104973, 0267207)

1шт.

10

0267208

HYDR. CYLINDER ROD GUIDE

(SUB FOR TH104974)

1шт.

13

AT264366

SEAL

(K) (SUB FOR TH104975, 0154412)

1шт.

14

AT264367

SEAL

(K) (SUB FOR TH104976, 0267209)

1шт.

15

0267210

SNAP RING

(SUB FOR TH104977)

1шт.

16

CH17260

PACKING

(K) (SUB FOR TH104978)

1шт.

17

SOCKET

(SUB TH104979)

1шт.

18

STUD

(SUB TH104979)

1шт.

19

0267214

SEAT

(SUB FOR TH104982)

1шт.

20

0267223

RETAINER

(SUB FOR TH104983)

1шт.

21

0267216

SPRING

(SUB FOR TH104984)

1шт.

22

0267217

FITTING PLUG

(SUB FOR TH104985)

1шт.

23

0267218

COVER

(SUB FOR TH104986)

1шт.

24

0267219

BOLT

(SUB FOR TH104987)

1шт.

25

14M7357

NUT

M12

1шт.

26

12M7058

LOCK WASHER

12 MM, (SUB FOR TH102779) (SUB FOR 12M7067)

1шт.

27

TH100074

LUBRICATION FITTING

1шт.

28

94-2010

FITTING PLUG

(SUB FOR TH100689)

1шт.

29

0267221

NUT

(SUB FOR TH104989)

1шт.

30

11M7034

COTTER PIN

5 X 63 MM, (SUB FOR TH104990)

1шт.

31

TH100074

LUBRICATION FITTING

1шт.

32

94-2010

FITTING PLUG

(SUB FOR TH100689)

1шт.

33

94-2012

FITTING PLUG

(SUB FOR TH100653)

2шт.

34

0267224

WASHER

(SUB FOR TH112237)

1шт.

35

0267211

BALL JOINT

(SUB FOR TH104979)

1шт.

Выбрано товаров: 32