Запчасти John Deere 95 6 - PROPEL MOTOR BRAKE VALVE 1060 - SERVICE BRAKES 10

Схема запчастей John Deere 95 - 6 - PROPEL MOTOR BRAKE VALVE 1060 - SERVICE BRAKES 10
FIT
1:1
100%

Артикул

Название

Примечание

Количество

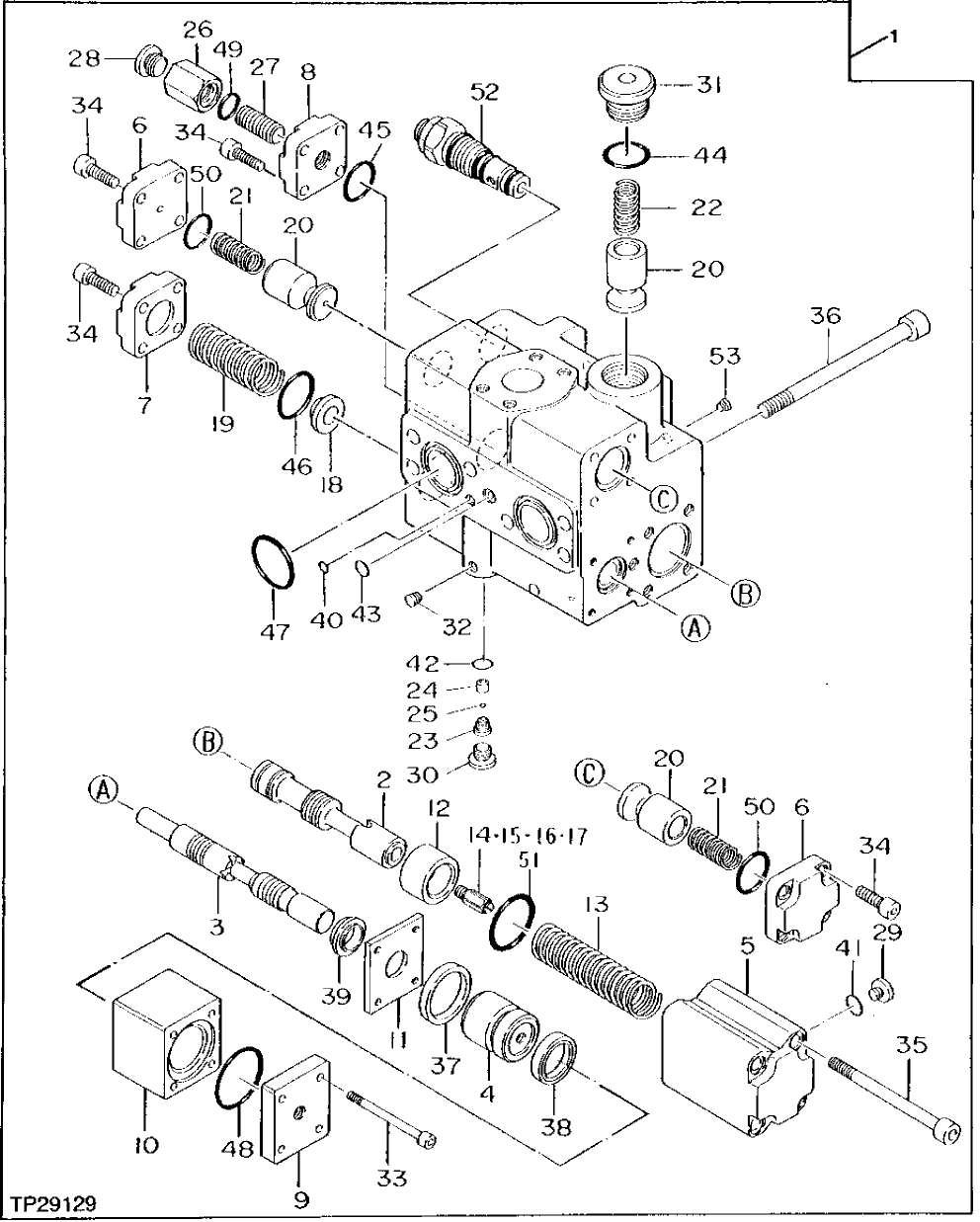
1

4175322

VALVE

(SUB FOR TH104682)

1шт.

2

SPOOL

(SUB TH104682)

1шт.

3

SPOOL

(SUB TH104682)

1шт.

4

PISTON

(SUB TH104682)

1шт.

5

0264201

COVER

(SUB FOR TH104719)

1шт.

6

0264202

COVER

(SUB FOR TH104720)

2шт.

7

0264203

COVER

(SUB FOR TH104721)

1шт.

8

0264204

COVER

(SUB FOR TH104722)

1шт.

9

0264205

COVER

(SUB FOR TH104723)

1шт.

10

CASE

(SUB TH104682)

1шт.

11

0264206

PLATE

(SUB FOR TH104724)

1шт.

12

PISTON

(SUB TH104682)

1шт.

13

0264207

SPRING

(SUB FOR TH104725)

1шт.

14

ORIFICE

(SUB TH104682)

1шт.

15

RETAINER

(SUB TH104682)

1шт.

16

SPRING

(SUB TH104682)

1шт.

17

BALL

(SUB TH104682)

1шт.

18

0264208

RETAINER

(SUB FOR TH104726)

1шт.

19

0264209

SPRING

(SUB FOR TH104727)

1шт.

20

PLUNGER

(SUB TH104682)

3шт.

21

0264210

SPRING

(SUB FOR TH104728)

2шт.

22

0264211

SPRING

(SUB FOR TH104729)

1шт.

23

0215209

FITTING PLUG

(SUB FOR TH101472)

1шт.

24

0215210

GUIDE

(SUB FOR TH101473)

1шт.

25

0215223

BALL

(SUB FOR TH101488)

1шт.

26

0264212

NUT

(SUB FOR TH104730)

1шт.

27

0264213

SET SCREW

(SUB FOR TH104731)

1шт.

28

TH104732

FITTING PLUG

(SUB FOR 0230126)

1шт.

29

0215220

FITTING PLUG

(SUB FOR TH101485)

1шт.

30

0215221

PIPE PLUG

(SUB FOR TH101486)

1шт.

31

0264214

FITTING PLUG

(SUB FOR TH104733)

1шт.

32

15H560

PIPE PLUG

(SUB FOR TH104734 OR B11746)

6шт.

33

19M6641

SCREW

M6 X 80, (SUB FOR TH104735) (SUB FOR 19M8482)

4шт.

34

19M8439

SCREW

M8 X 25, (SUB FOR TH104736) (SUB FOR 19M7657)

16шт.

35

0264217

SCREW

(SUB FOR TH104737)

4шт.

36

19M8439

SCREW

M8 X 25, (SUB FOR TH104738) (USE IF AVAILABLE)

6шт.

19M8439

SCREW

M8 X 25, (SUB FOR TH104738)

6шт.

37

0264219

GASKET

(SUB FOR TH104739)

1шт.

38

0264220

PACKING

(SUB FOR TH104740)

1шт.

39

0264221

SEAL

(SUB FOR TH104741)

1шт.

40

CH11568

PACKING

(SUB FOR TH101490, TH104588 AND 4506407)

1шт.

41

4506408

O-RING

(SUB FOR TH101490)

1шт.

42

M800650

PACKING

(SUB FOR TH100716)

1шт.

43

CH15146

PACKING

(SUB FOR TH101780)

1шт.

44

TH101926

O-RING

1шт.

45

A811030

O-RING

(SUB FOR TH101300)

1шт.

46

AT264324

O-RING

(SUB FOR TH101912, T32587, TH100044)

1шт.

47

A811040

O-RING

(SUB FOR TH102992)

2шт.

48

CH13520

PACKING

(SUB FOR TH100409)

1шт.

49

T77858

O-RING

(SUB FOR TH104742)

1шт.

50

H64801

O-RING

(SUB FOR TH104743)

2шт.

51

U15975

O-RING

(SUB FOR TH104744)

1шт.

52

4175326

RELIEF VALVE

(SUB FOR TH104745)

1шт.

53

94-2011

FITTING PLUG

(SUB FOR TH104746) (SUB FOR TH100434)

2шт.

Выбрано товаров: 54