Запчасти John Deere 95 2 - CAB HEATER 1830 - OPERATORS STATION 18

Схема запчастей John Deere 95 - 2 - CAB HEATER 1830 - OPERATORS STATION 18
FIT
1:1
100%

Артикул

Название

Примечание

Количество

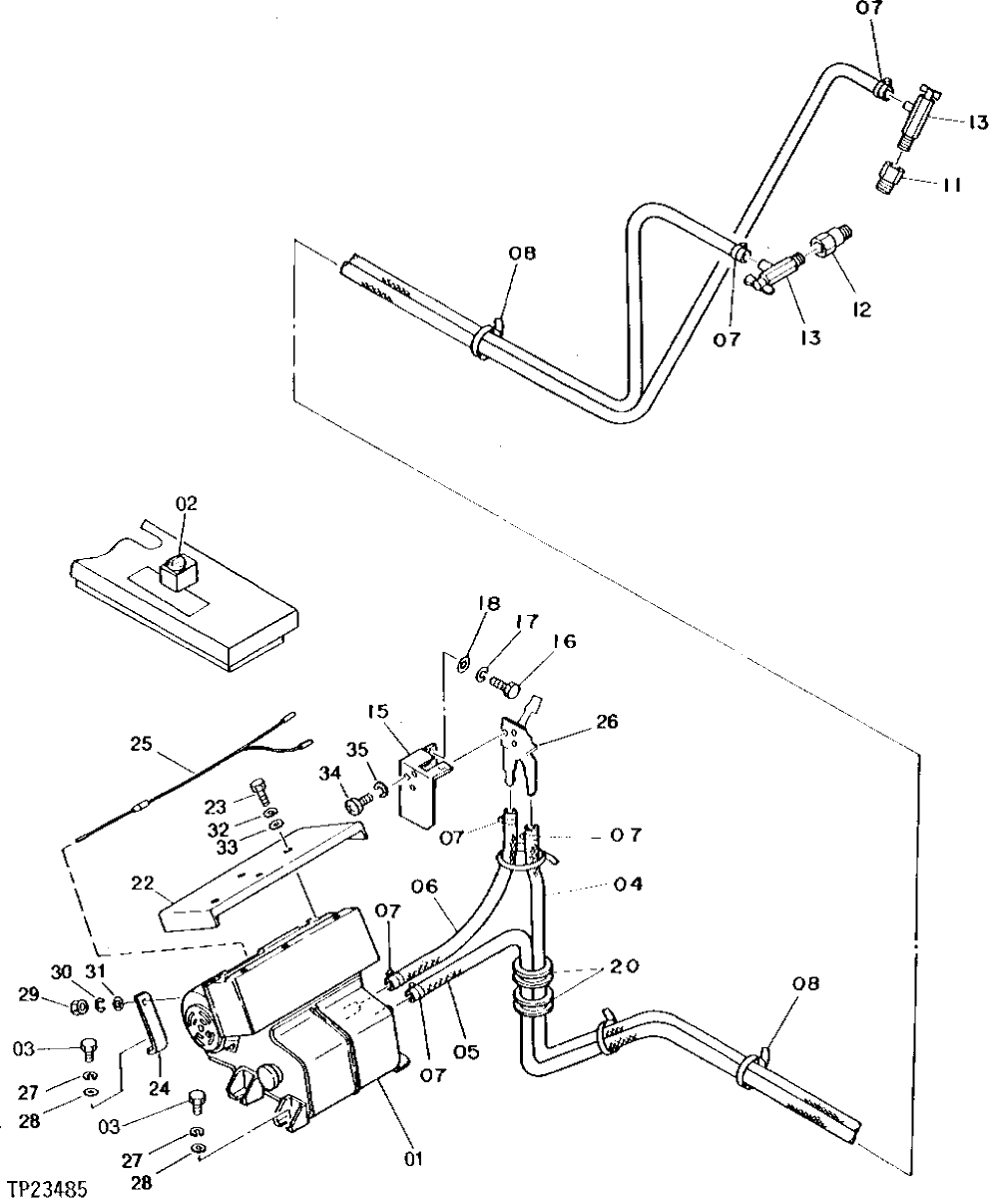
1

4173750

HEATER

(SUB FOR TH105571) (13,500 BTU)

1шт.

2

4110100

SWITCH

(SUB FOR TH101087)

1шт.

4184463

KNOB

(SUB FOR TH103612)

1шт.

3

19M7938

CAP SCREW

M10 X 20

5шт.

4

HOSE

(SUB FOR TH101674) (MAKE FROM 1/2" HOSE CUT TO LENGTH FROM T115300)

1шт.

5

HOSE

(MAKE FROM 1/2" HOSE CUT TO LENGTH FROM T115300)

1шт.

6

HOSE

(MAKE FROM 1/2" HOSE CUT TO LENGTH FROM T115300)

1шт.

7

WZ2141223

HOSE CLAMP

(SUB FOR AR21837, THIS APPLICATION) (SUB FOR AA34965)

6шт.

8

H77698

TIE BAND

(SUB FOR T44946)

9шт.

11

15H586

ADAPTER FITTING

3/8"

1шт.

12

15H619

PIPE BUSHING

3/8"

1шт.

13

AT105319

HAND OPERATED VALVE

2шт.

T103301

HOSE FITTING

2шт.

15

4125177

COVER

(SUB FOR TH101088)

1шт.

16

19M7923

CAP SCREW

M6 X 12

2шт.

17

12M7006

LOCK WASHER

6 MM, (SUB FOR TH100548)

2шт.

18

24M7054

WASHER

6.400 X 12 X 1.600 MM, (SUB FOR TH100278)

2шт.

20

4509404

GROMMET

(SUB FOR TH100553)

2шт.

22

8032430

COVER

(SUB FOR TH104225)

1шт.

23

19M7286

CAP SCREW

M6 X 25

4шт.

24

4080636

BRACKET

(SUB FOR TH101086)

1шт.

25

0228125

WIRING HARNESS

(SUB FOR TH101692)

1шт.

26

4115856

VALVE

(SUB FOR TH101085)

1шт.

27

12M7066

LOCK WASHER

10 MM, (SUB FOR TH100417)

5шт.

28

24M7028

WASHER

10.500 X 20 X 2 MM, (SUB FOR TH100263)

5шт.

29

14M7273

NUT

M8

1шт.

30

12M7056

LOCK WASHER

8 MM, (SUB FOR TH100529) (SUB FOR 12M7065)

1шт.

31

24M7055

WASHER

8.400 X 16 X 1.600 MM, (SUB FOR TH100280)

1шт.

32

12M7006

LOCK WASHER

6 MM, (SUB FOR TH100548)

4шт.

33

24M7054

WASHER

6.400 X 12 X 1.600 MM, (SUB FOR TH100278)

4шт.

34

21M7278

SCREW

M5 X 10

3шт.

35

12M7064

LOCK WASHER

5 MM, (SUB FOR TH100519)

3шт.

Выбрано товаров: 32