Запчасти John Deere 95 8 - MAIN HYDRAULIC PUMP 2160 - VEHICLE MAIN HYDRAULIC SYSTEM 21

Схема запчастей John Deere 95 - 8 - MAIN HYDRAULIC PUMP 2160 - VEHICLE MAIN HYDRAULIC SYSTEM 21
FIT
1:1
100%

Артикул

Название

Примечание

Количество

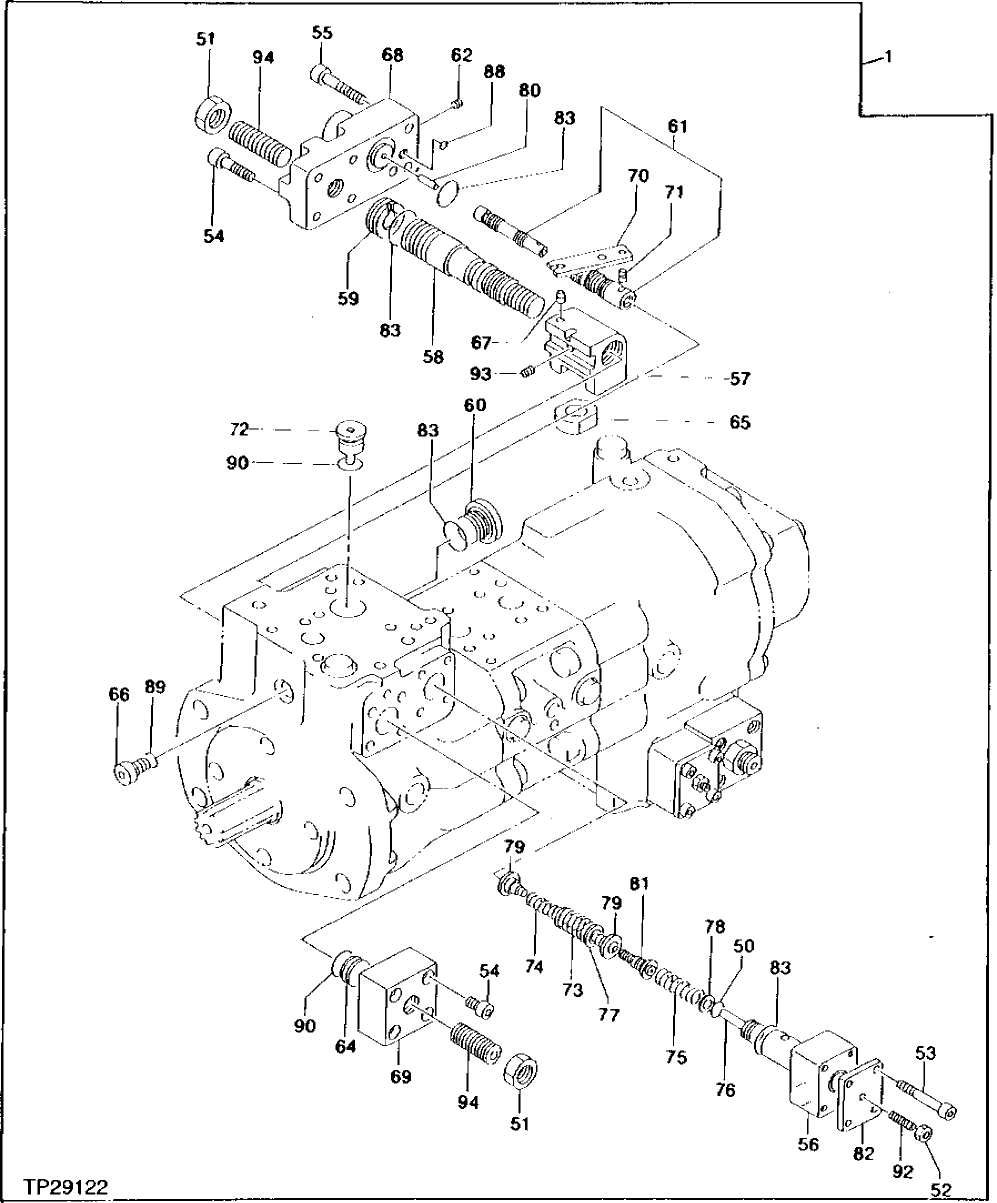
1

9065582

PUMP

(REMANUFACTURED) (SUB FOR TH112257, AT217320) (SUB FOR TH103685 ALONG WITH TH104526) (COMPLETE ASSEMBLY NOT ILLUSTRATED ON THIS PAGE, FOR ADDITIONAL COMPONENTS SEE PREVIOUS PAGE)

1шт.

50

4506416

O-RING

(SUB FOR TH102561)

2шт.

51

14M7138

NUT

M18

4шт.

52

14M7147

NUT

M8, (SUB FOR TH104593)

2шт.

53

19M8713

SCREW

M6 X 45, (SUB FOR TH104556)

8шт.

54

19M8337

SCREW

M10 X 30

16шт.

55

19M8338

SCREW

M10 X 40

4шт.

56

0210732

HOUSING

(SUB FOR TH104566) (SUB FOR TH112222)

2шт.

57

0263020

LOCKING COLLAR

(SUB FOR TH104567)

2шт.

58

0263021

PISTON

(SUB FOR TH104568)

2шт.

59

0210722

STOP

(SUB FOR TH104569)

2шт.

60

4515021

FITTING PLUG

(SUB FOR TH104563)

2шт.

61

0210728

SLEEVE

(SUB FOR TH104532)

2шт.

62

15H560

PIPE PLUG

1/16"

4шт.

64

0263022

STOP

(SUB FOR TH104570)

2шт.

65

0263023

RING

(SUB FOR TH104571)

2шт.

66

0195142

FITTING PLUG

(SUB FOR TH104572)

2шт.

67

0443402

DOWEL PIN

(SUB FOR 0195143, TH104573)

2шт.

68

CASE

(SUB 9065582)

2шт.

69

0210726

COVER

(SUB FOR TH104574) (SUB FOR TH112223)

2шт.

70

0218838

LEVER

(SUB FOR TH104575)

2шт.

71

PIN

( 0195147 NO LONGER AVAILABLE) (SUB FOR TH104576)

2шт.

72

0210736

DOWEL PIN

(SUB FOR TH104577)

2шт.

73

0263024

SPRING

(SUB FOR TH104578)

2шт.

74

0263025

SPRING

(SUB FOR TH104579)

2шт.

75

0195153

SPRING

(SUB FOR TH104580)

2шт.

76

0195154

SPOOL

(SUB FOR TH104581)

2шт.

77

0195155

KIT

(SUB FOR TH104582)

2шт.

78

4057084

PLATE

(SUB FOR TH104583)

2шт.

79

PLATE

(NOT AVAILABLE FOR SERVICE)

4шт.

80

0195159

PIN

(SUB FOR TH104584)

2шт.

81

0210731

PISTON

(SUB FOR TH104585)

2шт.

82

0210737

COVER

(SUB FOR TH104586) (SUB FOR TH112224)

2шт.

83

A811030

O-RING

(SUB FOR TH101300)

8шт.

88

CH11568

PACKING

(SUB FOR TH101490)

4шт.

89

CH17167

O-RING

(SUB FOR TH100500)

2шт.

90

CH12329

PACKING

(SUB FOR TH100770)

4шт.

92

22M7148

SET SCREW

M8 X 16, (SUB FOR TH104597) (SUB FOR 22M7070)

2шт.

93

22M7095

SET SCREW

M5 X 6, (SUB FOR TH104598)

2шт.

94

0175281

SET SCREW

(SUB FOR TH104599)

4шт.

Выбрано товаров: 40