Запчасти John Deere 95 12 - HYDRAULIC OIL RESERVOIR 2160 - VEHICLE MAIN HYDRAULIC SYSTEM 21

Схема запчастей John Deere 95 - 12 - HYDRAULIC OIL RESERVOIR 2160 - VEHICLE MAIN HYDRAULIC SYSTEM 21
FIT
1:1
100%

Артикул

Название

Примечание

Количество

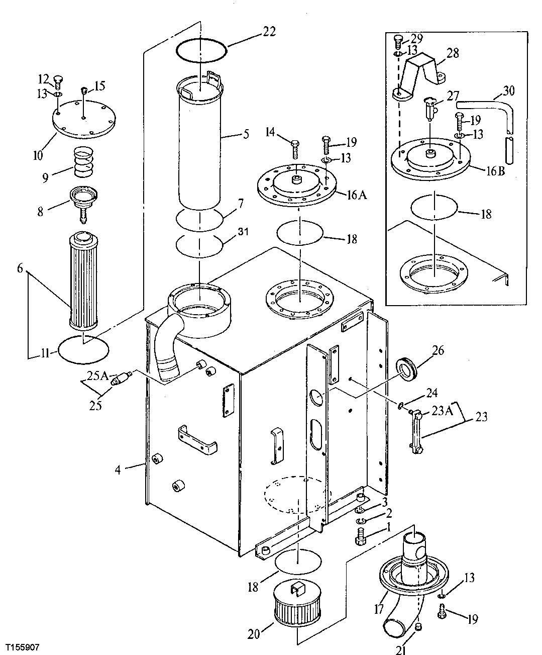
1

19M8035

CAP SCREW

M16 X 35

4шт.

2

12H294

LOCK WASHER

5/8", (SUB FOR TH100466)

4шт.

3

24M7053

WASHER

17 X 30 X 3 MM, (SUB FOR TH100520)

4шт.

4

6007570

HYDRAULIC RESERVOIR

(SUB FOR TH103697)

1шт.

5

8027170

CASE

(SUB FOR TH103698)

1шт.

6

AT308569

FILTER ELEMENT

(ALSO ORDER AT194547) (SUB FOR TH103699) (SUB FOR TH111010) (SUB FOR 4227353)

1шт.

AT171693

FILTER

(NOT ILLUSTRATED) (CLEAN-UP FILTER) (LIMITED USE - APPROXIMATELY 3 HOURS) (IDLE SPEED) (ALSO REQUIRES CH17213 PACKING)

1шт.

7

A810150

O-RING

(SUB FOR TH100662)

1шт.

8

4065280

FLOW CONTROL HYD. VALVE

(SUB FOR TH101887)

1шт.

9

4147990

SPRING

(SUB FOR TH103700)

1шт.

10

4147991

COVER

(SUB FOR TH103701)

1шт.

11

A810165

O-RING

(SUB FOR TH100665)

1шт.

12

19M7402

CAP SCREW

M10 X 25

6шт.

13

12M7066

LOCK WASHER

10 MM, (SUB FOR TH100417)

18шт.

14

4210482

PIPE PLUG

(SUB FOR TH110093)

1шт.

15

94-2012

FITTING PLUG

(SUB FOR TH100653)

1шт.

16A

8039948

COVER

(SUB FOR TH110092)

1шт.

16B

8033354

COVER

(SUB FOR TH103515) (SUB FOR TH103703, ALONG WITH TH102949, 94-2023 AND AT128432)

1шт.

17

8027171

LINE

(SUB FOR TH103704)

1шт.

18

TH100679

O-RING

2шт.

19

19M8784

SCREW

M10 X 20, (SUB FOR TH100670, 19M8356)

12шт.

20

4190987

FILTER ELEMENT

(SUB FOR TH100678) (SUB FOR AT128326)

1шт.

21

94-2011

FITTING PLUG

(SUB FOR TH100434)

1шт.

22

A810165

O-RING

(SUB FOR TH100665)

1шт.

23

8016441

LEVEL GAUGE

(SUB FOR TH100674)

1шт.

23A

4100967

BOLT

(SUB FOR TH101894)

2шт.

24

449558

WASHER

(SUB FOR TH100675)

4шт.

25

4175286

FLOW CONTROL HYD. VALVE

(SUB FOR TH103475)

1шт.

25A

4163653

COVER

(SUB FOR TH101890)

1шт.

26

4150707

GROMMET

(SUB FOR TH101633) (SUB FOR TH102009)

1шт.

27

4209782

HAND OPERATED VALVE

(SUB FOR AT128432) (SUB FOR 4094354, ALONG WITH 94-1702 AND 94-2023)

1шт.

94-1702

ADAPTER FITTING

(SUB FOR TH102949)

1шт.

94-2023

FITTING PLUG

(SUB FOR TH100667)

1шт.

28

COVER

(SUB TH110092 AND TH110093) ( TH107963 NO LONGER AVAILABLE)

1шт.

29

M111025

BOLT

(SUB FOR TH101167)

2шт.

30

HOSE

( TH107962 NO LONGER AVAILABLE) (MAKE FROM 3/8" VINYL HOSE, CUT TO LENGTH)

1шт.

31

AT194547

O-RING

1шт.

Выбрано товаров: 37