Запчасти John Deere 95 2 - LEVER STAND 3315 - BACKHOE AND EXCAVATOR 33

Схема запчастей John Deere 95 - 2 - LEVER STAND 3315 - BACKHOE AND EXCAVATOR 33
FIT
1:1
100%

Артикул

Название

Примечание

Количество

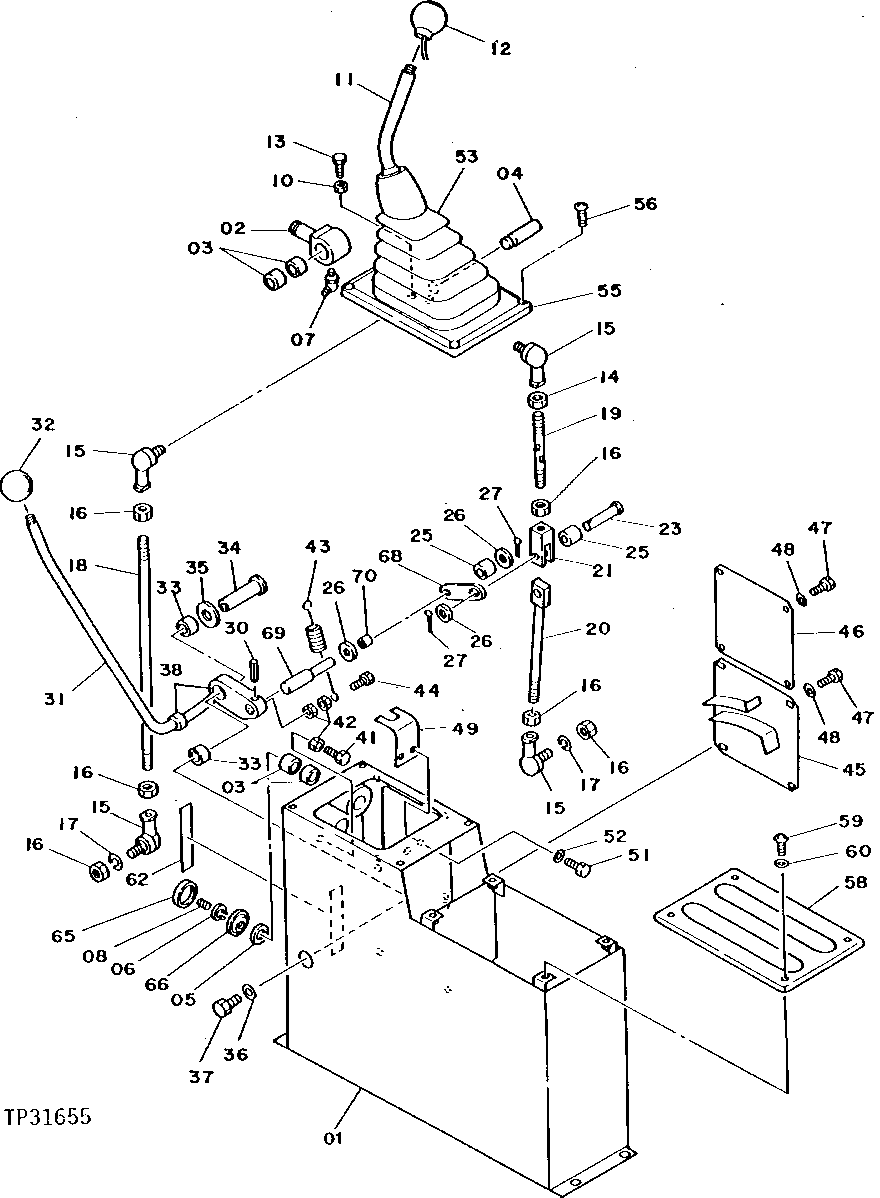
1

6006072

STAND

(SUB FOR TH103854)

1шт.

2

3025206

PIVOT

(SUB FOR TH100247)

1шт.

3

TH100248

NEEDLE BEARING

4шт.

4

4086444

PIN FASTENER

(SUB FOR TH100249)

1шт.

5

24M7053

WASHER

17 X 30 X 3 MM

1шт.

6

40M7068

SNAP RING

1шт.

7

T116334

LUBRICATION FITTING

(SUB FOR TH100075)

1шт.

8

94-2010

FITTING PLUG

(SUB FOR TH100689)

1шт.

10

14M7273

NUT

M8

1шт.

11

8026356

LEVER

(SUB FOR TH100251)

1шт.

12

4269020

KNOB

HORN SWITCH, (SUB FOR TH100252, THIS APPLICATION) (SUB FOR TH108073)

1шт.

13

19M7376

CAP SCREW

M8 X 22

1шт.

14

M500010

NUT

(SUB FOR TH100688)

1шт.

15

4056019

BALL JOINT

(SUB FOR TH100254)

4шт.

16

14M7444

NUT

M10, (SUB FOR TH100255)

6шт.

17

12M7066

LOCK WASHER

10 MM, (SUB FOR TH100417)

2шт.

18

4116383

ROD

(SUB FOR TH100256)

1шт.

19

4128527

SHAFT

(SUB FOR TH100257)

1шт.

20

9717774

ROD

(SUB FOR TH100258)

1шт.

21

M991040

YOKE

(SUB FOR TH100259)

1шт.

23

4128521

PIN FASTENER

(SUB FOR TH100260)

1шт.

25

4128520

SPACER

(SUB FOR TH100262)

2шт.

26

24M7028

WASHER

10.500 X 20 X 2 MM, (SUB FOR TH100263)

3шт.

27

11M7082

COTTER PIN

2.500 X 25 MM, (SUB FOR TH100264) (SUB FOR 11M7081)

2шт.

30

34M7029

SPRING PIN

4 X 30 MM

1шт.

31

8038618

LEVER

(SUB FOR TH100267)

1шт.

32

4143169

KNOB

(SUB FOR TH100268)

1шт.

33

TH100248

NEEDLE BEARING

2шт.

34

4143124

PIN FASTENER

(SUB FOR TH100269)

1шт.

35

24M7053

WASHER

17 X 30 X 3 MM, (SUB FOR TH100520)

1шт.

36

24M7028

WASHER

10.500 X 20 X 2 MM, (SUB FOR TH100263)

1шт.

37

19M8451

CAP SCREW

(SUB FOR TH100270)

1шт.

38

4143123

BUSHING

(SUB FOR TH100271)

1шт.

41

19M8425

CAP SCREW

M6 X 16

1шт.

42

14M7272

NUT

M6

3шт.

43

4126714

EXTENSION SPRING

(SUB FOR TH100274)

1шт.

44

19M7077

CAP SCREW

M6 X 20

1шт.

45

8045506

BRACKET

(SUB FOR TH100276) (SUB FOR TH112004)

1шт.

46

4144855

COVER

(SUB FOR TH100277)

1шт.

47

19M8425

CAP SCREW

M6 X 16

8шт.

48

24M7054

WASHER

6.400 X 12 X 1.600 MM, (SUB FOR TH100278)

8шт.

49

4172253

BRACKET

(SUB FOR TH103856)

1шт.

51

19M7932

CAP SCREW

M8 X 16

2шт.

52

24M7055

WASHER

8.400 X 16 X 1.600 MM, (SUB FOR TH100280)

2шт.

53

2019365

BOOT

(SUB FOR TH100281)

1шт.

55

3026035

BASE

(SUB FOR TH100282)

1шт.

56

21M7326

SCREW

M6 X 20, (SUB FOR TH100573)

4шт.

58

3027136

COVER

(SUB FOR TH103857)

1шт.

59

21M7246

SCREW

M6 X 16, (SUB FOR TH100583)

4шт.

60

24M7054

WASHER

6.400 X 12 X 1.600 MM, (SUB FOR TH100584)

4шт.

62

4149203

LABEL

(SUB FOR TH101569)

1шт.

65

4149471

CAP

(SUB FOR TH100287)

1шт.

66

4149472

RETAINER

(SUB FOR TH100288)

1шт.

68

4156655

LINK

(SUB FOR TH100261)

1шт.

69

4156653

PIN FASTENER

(SUB FOR TH100265)

1шт.

70

4156654

BUSHING

(SUB FOR TH101603)

1шт.

Выбрано товаров: 56