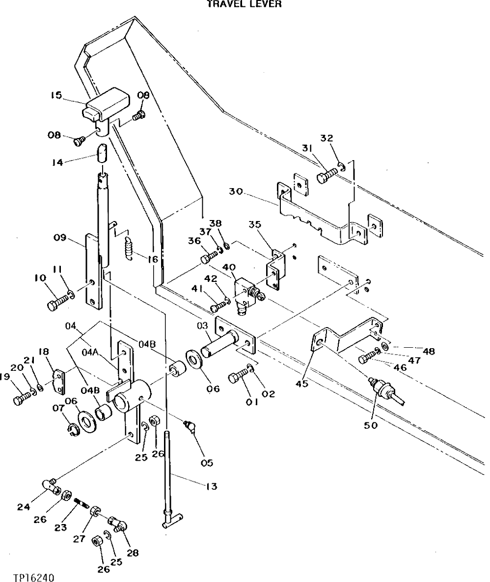
Запчасти John Deere 95 20 - TRAVEL LEVER 3315 - BACKHOE AND EXCAVATOR 33

Схема запчастей John Deere 95 - 20 - TRAVEL LEVER 3315 - BACKHOE AND EXCAVATOR 33
FIT
1:1
100%

Артикул

Название

Примечание

Количество

1

19M7938

CAP SCREW

M10 X 20

2шт.

2

12M7066

LOCK WASHER

10 MM, (SUB FOR TH100417)

2шт.

3

9722627

SHAFT

(SUB FOR TH103860)

1шт.

4

9060572

LEVER

(SUB FOR TH103861)

1шт.

4A

LEVER

(SUB TH103861)

1шт.

4B

4063692

NEEDLE BEARING

(SUB FOR TH103818)

2шт.

5

T116334

LUBRICATION FITTING

(SUB FOR TH100075)

1шт.

6

24M7051

WASHER

21 X 37 X 3 MM

2шт.

7

40M7080

SNAP RING

(SUB FOR TH103864)

1шт.

8

SCREW

(SUB TH108034 AND TH103869)

2шт.

4201484

SCREW

(SUB FOR TH108034)

2шт.

9

8026181

LEVER

(SUB FOR TH103866)

1шт.

10

19M7402

CAP SCREW

M10 X 25

2шт.

11

12M7066

LOCK WASHER

10 MM, (SUB FOR TH100417)

2шт.

13

8026180

ROD

(SUB FOR TH103867)

1шт.

14

4119401

CAM

(SUB FOR TH103868)

1шт.

15

TH103869

KNOB

1шт.

16

TH103870

SPRING

1шт.

18

4148004

CAM

(SUB FOR TH103871)

1шт.

19

19M7077

CAP SCREW

M6 X 20

2шт.

20

12M7006

LOCK WASHER

6 MM, (SUB FOR TH100548)

2шт.

21

24M7054

WASHER

6.400 X 12 X 1.600 MM, (SUB FOR TH100278)

2шт.

23

4178461

STUD

(SUB FOR TH103872)

1шт.

24

4056019

BALL JOINT

(SUB FOR TH100254)

1шт.

25

12M7066

LOCK WASHER

10 MM, (SUB FOR TH100417)

2шт.

26

14M7444

NUT

M10, (SUB FOR TH100255)

3шт.

27

J957010

LOCK NUT

(SUB FOR TH103873)

1шт.

28

4130631

BALL JOINT

(SUB FOR TH103874)

1шт.

30

3035927

GUIDE

(SUB FOR TH105590)

1шт.

31

19M7938

CAP SCREW

M10 X 20

2шт.

32

12M7066

LOCK WASHER

10 MM, (SUB FOR TH100417)

2шт.

35

4148005

BRACKET

(SUB FOR TH103876)

1шт.

36

19M7923

CAP SCREW

M6 X 12

2шт.

37

12M7006

LOCK WASHER

6 MM, (SUB FOR TH100548)

2шт.

38

24M7054

WASHER

6.400 X 12 X 1.600 MM, (SUB FOR TH100278)

2шт.

40

4201064

SWITCH

(SUB FOR TH103877) (SUB FOR TH107046) NEUTRAL START

1шт.

41

21M7369

SCREW

M4 X 25

2шт.

42

12H315

LOCK WASHER

4.166 MM, (SUB FOR TH101147) (SUB FOR 12M7063)

2шт.

45

3031910

BRACKET

(SUB FOR TH103879)

1шт.

46

19M7923

CAP SCREW

M6 X 12

2шт.

47

12M7006

LOCK WASHER

6 MM, (SUB FOR TH100548)

2шт.

48

24M7054

WASHER

6.400 X 12 X 1.600 MM, (SUB FOR TH100278)

2шт.

50

4505523

SWITCH

(SUB FOR TH103880) BACK-UP LIGHTS

1шт.

Выбрано товаров: 43