Запчасти John Deere 95 6 - ARM 3340 - BACKHOE AND EXCAVATOR 33

Схема запчастей John Deere 95 - 6 - ARM 3340 - BACKHOE AND EXCAVATOR 33
FIT
1:1
100%

Артикул

Название

Примечание

Количество

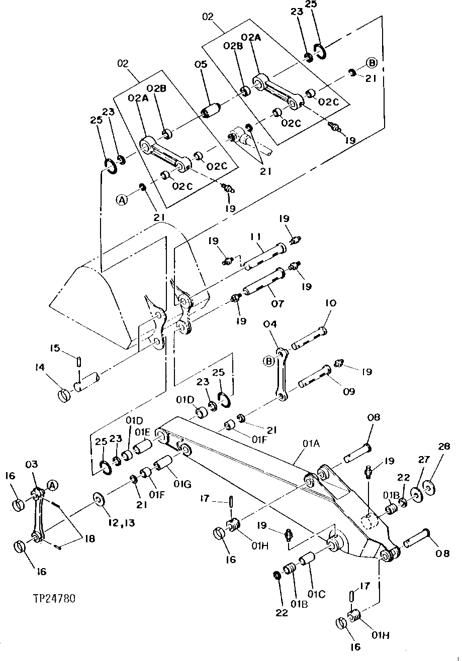
1A

ARM

(K) (ARM) (SUB TH104476 IF AVAILABLE)

1шт.

1B

3051399

BUSHING

(K) (SUB FOR TH104459 OR AT126135) (SUB FOR AT154116)

2шт.

1C

4163454

SPACER

(K) (SUB FOR TH104460)

1шт.

1D

T139507

BUSHING

(K) (SUB FOR TH104288)

2шт.

1E

4123815

SPACER

(K) (SUB FOR TH104461)

1шт.

1F

AT122209

BUSHING

(K) (SUB FOR TH100371 OR TH108931)

2шт.

1G

4163453

SPACER

(K) (SUB FOR TH104462)

1шт.

1H

4124573

BUSHING

(K) (SUB FOR TH100368)

3шт.

2

9056567

LINK

(SUB FOR TH104463)

2шт.

2A

LINK

1шт.

2B

T139507

BUSHING

(SUB FOR TH104288)

1шт.

2C

4107837

BUSHING

(SUB FOR TH104400)

2шт.

3

8018704

LINK

(SUB FOR TH104465)

1шт.

4

3018935

LINK

(SUB FOR TH104466)

1шт.

5

4163455

SPACER

(SUB FOR TH104467)

1шт.

7

T144756

PIN

(SUB FOR TH104468 OR T114883)

1шт.

8

AT126131

PIN

(SUB FOR TH104454)

2шт.

9

AT126130

PIN

(SUB FOR TH104469)

1шт.

10

3045338

PIN FASTENER

(SUB FOR TH105636) (SUB FOR TH111888)

1шт.

11

T144757

PIN

(SUB FOR T114884)

1шт.

12

4075359

WASHER

(SUB FOR TH101314)

2шт.

13

4075360

WASHER

(SUB FOR TH101315)

2шт.

14

4098712

RING

(SUB FOR TH103629)

2шт.

15

4098713

PIN

(SUB FOR TH103627)

2шт.

16

4065688

RETAINER

(SUB FOR TH100624)

4шт.

17

4065689

PIN FASTENER

(SUB FOR TH100625)

2шт.

18

4186695

PIN

(SUB FOR TH100623) (SUB FOR TH105638)

2шт.

19

TH100074

LUBRICATION FITTING

9шт.

21

TH100374

SEAL

6шт.

22

TH104472

SEAL

2шт.

23

TH102446

SEAL

(I.D. 80 MM - O.D. 95 MM)

4шт.

25

4089028

O-RING

(SUB FOR TH102444 OR T200732)

4шт.

27

4163456

WASHER

(SUB FOR TH104473)

ARшт.

28

4163457

WASHER

(SUB FOR TH104474)

ARшт.

Выбрано товаров: 34