Запчасти John Deere 95 52 - RIGHT BLADE CYLINDER 3360 - BACKHOE AND EXCAVATOR 33

Схема запчастей John Deere 95 - 52 - RIGHT BLADE CYLINDER 3360 - BACKHOE AND EXCAVATOR 33
FIT
1:1
100%

Артикул

Название

Примечание

Количество

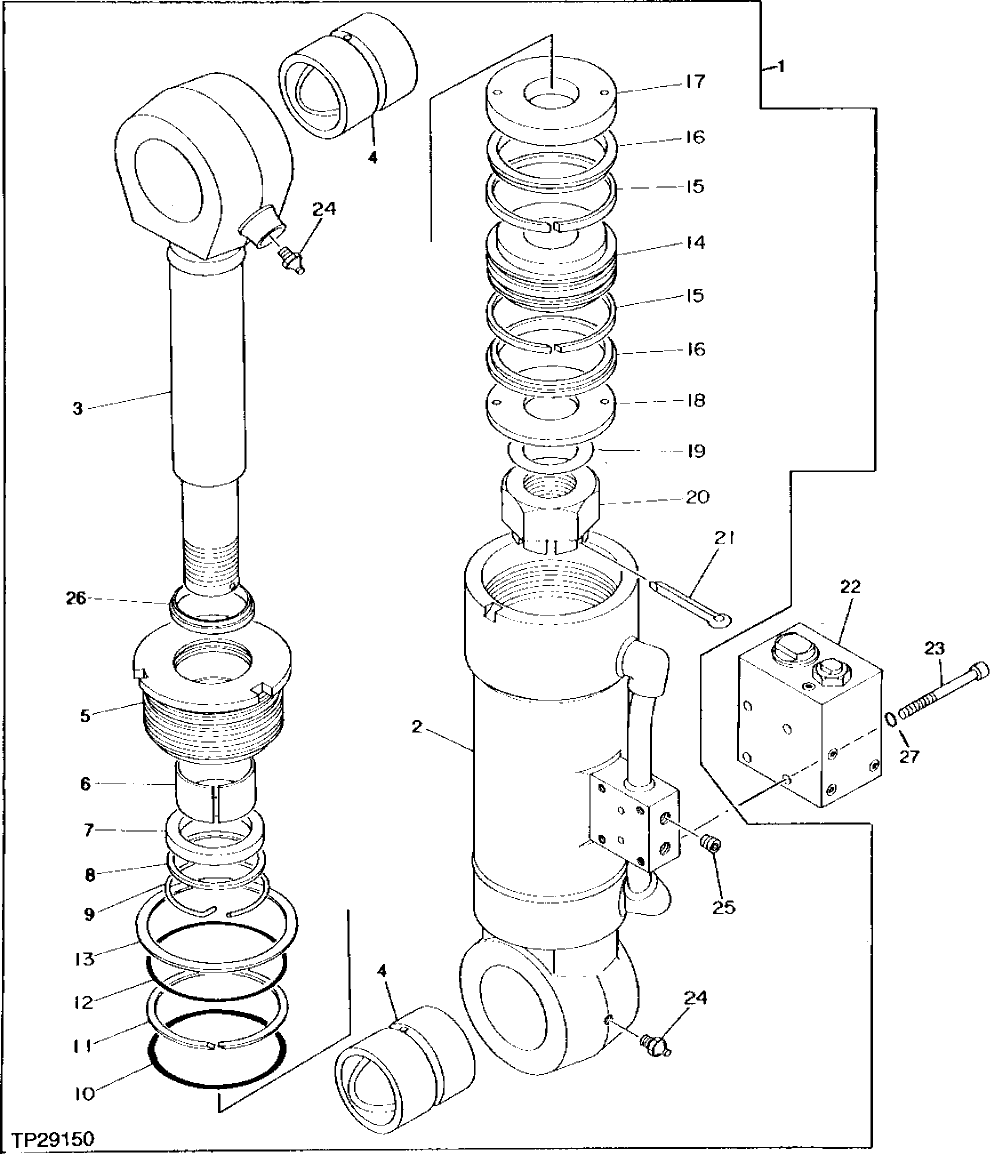
1

4193209

HYDRAULIC CYLINDER

(SUB FOR TH105587)

1шт.

2

0265101

HYDRAULIC CYLINDER BARREL

(SUB FOR TH105029)

1шт.

3

0265102

ROD

(SUB FOR TH105030)

1шт.

4

0128613

BUSHING

(SUB FOR TH105031)

2шт.

5

0265103

HYDRAULIC CYLINDER CAP

(SUB FOR TH105032)

1шт.

6

0137304

WEAR RING

(SUB FOR TH105033)

1шт.

7

4085426

SEAL

(K) (SUB FOR TH105034, AT127753 OR 4508829)

1шт.

8

992619

RING

(SUB FOR TH105035) (SUB FOR AT134306)

1шт.

9

992617

SNAP RING

(SUB FOR TH105036) (SUB FOR AT134305)

1шт.

10

AT264373

O-RING

(K) (SUB FOR TH105038, 4038304)

1шт.

11

4035029

BACK-UP RING

(K) (SUB FOR TH105039)

1шт.

12

4049492

O-RING

(K) (SUB FOR TH105040)

1шт.

13

4508160

WASHER

(K) (SUB FOR TH105041) (SUB FOR AT130884)

1шт.

14

0265104

PISTON

(SUB FOR TH105042)

1шт.

15

954990

O-RING

(SUB FOR TH105043)

2шт.

16

4085429

SEAL

(K) (SUB FOR TH105044)

2шт.

17

0265105

RETAINER

(SUB FOR TH105045)

1шт.

18

0265106

RETAINER

(SUB FOR TH105046)

1шт.

19

0265107

KIT

(SUB FOR TH105047)

1шт.

20

4068634

NUT

(SUB FOR TH105048)

1шт.

21

11M7098

COTTER PIN

8 X 100 MM

1шт.

22

0265108

FLOW CONTROL HYD. VALVE

(SUB FOR TH105050)

1шт.

23

0265109

SCREW

(SUB FOR TH105051)

4шт.

24

TH100074

LUBRICATION FITTING

2шт.

25

94-2011

FITTING PLUG

(SUB FOR TH100434)

2шт.

26

0137308

SEAL

(K) (SUB FOR TH105037)

1шт.

27

CH10568

PACKING

(SUB FOR TH102668)

2шт.

Выбрано товаров: 27