Запчасти John Deere 95 4 - KNUCKLE AND KNUCKLE ARM 201 - AXLES AND SUSPENSION SYSTEMS 2

Схема запчастей John Deere 95 - 4 - KNUCKLE AND KNUCKLE ARM 201 - AXLES AND SUSPENSION SYSTEMS 2
FIT
1:1
100%

Артикул

Название

Примечание

Количество

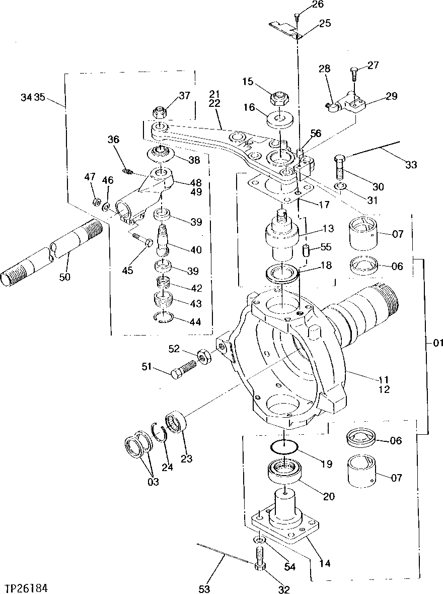
1

0266541

KIT

(SUB FOR TH105111) (SUB FOR TH105550)

2шт.

3

0266403

SEAL

(SUB FOR TH105076)

4шт.

6

0266406

PLUG

(SUB FOR TH105079)

2шт.

7

BUSHING

(SUB TH105550)

2шт.

11

0266547

KNUCKLE

(SUB FOR TH105085) (SUB FOR TH105580) (RIGHT)

1шт.

12

0266548

KNUCKLE

(SUB FOR TH105085) (SUB FOR TH105581) (LEFT)

1шт.

13

KINGPIN

(SUB TH105550)

1шт.

14

KINGPIN

(SUB TH105550)

1шт.

15

0266503

LOCK NUT

(SUB FOR TH105086)

2шт.

16

0266504

BUSHING

(SUB FOR TH105087)

2шт.

17

0266534

SHIM KIT

(SUB FOR TH105564) (KIT)

1шт.

18

THRUST WASHER

(SUB TH105550)

ARшт.

19

0266549

O-RING

(SUB FOR TH112246)

1шт.

20

THRUST BEARING

(SUB TH105550)

1шт.

21

ARM

(SUB TH105580) (RIGHT)

1шт.

22

ARM

(SUB TH105581) (LEFT)

1шт.

23

0266508

NEEDLE BEARING

(SUB FOR TH105091)

1шт.

24

0266509

SNAP RING

(SUB FOR TH105092)

1шт.

25

0266510

COVER

(SUB FOR TH105093)

1шт.

26

19M7922

CAP SCREW

M8 X 40, (SUB FOR TH105094, THIS APPLICATION) (SUB FOR 19M7301)

2шт.

27

19M7358

CAP SCREW

M10 X 40, (SUB FOR TH105095)

2шт.

28

0362525

ELBOW FITTING

(SUB FOR TH105096) (SUB FOR AT128351)

1шт.

29

0266546

ADAPTER FITTING

(SUB FOR TH105097) (SUB FOR TH105566)

1шт.

30

0266540

CAP SCREW

(SUB FOR TH105567)

4шт.

31

0266543

WASHER

(SUB FOR TH105576)

4шт.

32

0266517

BOLT

(SUB FOR TH105100)

4шт.

33

0266544

WIRE

(SUB FOR TH105577)

4шт.

34

0266519

BALL JOINT

(SUB FOR TH105102) (RIGHT)

1шт.

35

0266520

BALL JOINT

(SUB FOR TH105103) (LEFT)

1шт.

36

TH100074

LUBRICATION FITTING

1шт.

37

0266521

NUT

(SUB FOR TH105104)

1шт.

38

COVER

(SUB TH105102 OR TH105103)

1шт.

39

SEAT

(SUB TH105102 OR TH105103)

2шт.

40

BALL JOINT

(SUB TH105102 OR TH105103)

1шт.

42

SPRING

(SUB TH105102 OR TH105103)

1шт.

43

PLUG

(SUB TH105102 OR TH105103)

1шт.

44

SNAP RING

(SUB TH105102 OR TH105103)

1шт.

45

BOLT

(SUB TH105102 OR TH105103)

2шт.

46

LOCK WASHER

(SUB TH105102 OR TH105103)

2шт.

47

NUT

(SUB TH105102 OR TH105103)

2шт.

48

TIE ROD END

(SUB TH105102)

1шт.

49

TIE ROD END

(SUB TH105103)

1шт.

50

0266522

TUBE

(SUB FOR TH105105)

1шт.

51

0266523

BOLT

(SUB FOR TH105106)

1шт.

52

0266524

NUT

(SUB FOR TH105107)

1шт.

53

T44829

WIRE

2шт.

54

0266529

WASHER

(SUB FOR TH105099)

4шт.

55

0266542

PIN

(SUB FOR TH105574)

2шт.

56

0266545

COVER

(SUB FOR TH105575)

2шт.

Выбрано товаров: 49