Запчасти John Deere 95 2 - TRANSMISSION BEVEL GEAR 350 - TRANSMISSION 3

Схема запчастей John Deere 95 - 2 - TRANSMISSION BEVEL GEAR 350 - TRANSMISSION 3
FIT
1:1
100%

Артикул

Название

Примечание

Количество

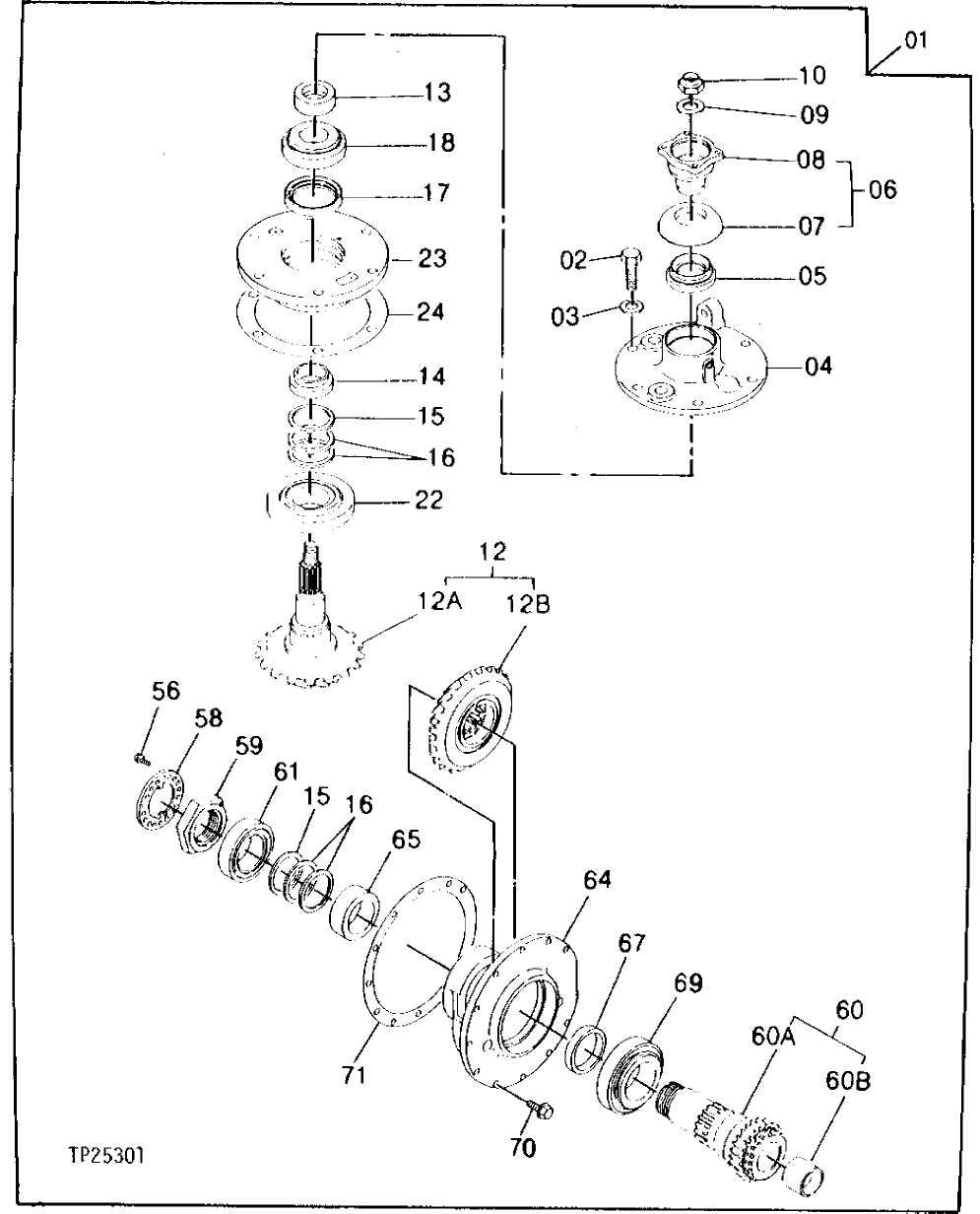
1

BEVEL GEAR DRIVE

( TH105248 NO LONGER AVAILABLE)

1шт.

2

19M8796

SCREW

M14 X 55, (SUB FOR TH105249, 19M8055)

6шт.

3

12M7068

LOCK WASHER

14 MM, (SUB FOR TH105116)

6шт.

4

0268002

COVER

(SUB FOR TH105250)

1шт.

5

0268003

SEAL

(SUB FOR TH105251)

1шт.

6

0268004

FLANGE

(SUB FOR TH105252)

1шт.

7

DUST SHIELD

(SUB TH105252)

1шт.

8

FLANGE

(SUB TH105252)

1шт.

9

0268005

WASHER

(SUB FOR TH105253)

1шт.

10

0268006

NUT

(SUB FOR TH105254)

1шт.

12

4175961

BEVEL GEAR DRIVE

(SUB FOR TH105255)

1шт.

12A

SHAFT

(SUB TH105255)

1шт.

12B

GEAR

(SUB TH105255)

1шт.

13

0268007

BUSHING

(SUB FOR TH105256)

1шт.

14

0268008

BUSHING

(SUB FOR TH105257)

1шт.

15

0268009

SHIM

(SUB FOR TH105258)

2шт.

16

0268010

BUSHING

(SUB FOR TH105259)

4шт.

17

0268011

SEAL

(SUB FOR TH105260)

1шт.

18

TH109094

TAPERED ROLLER BEARING

(SUB FOR TH105261)

1шт.

22

JD10429

TAPERED ROLLER BEARING

(SUB FOR TH105262)

1шт.

23

0268014

HOUSING

(SUB FOR TH105263)

1шт.

24

0268015

SHIM

(SUB FOR TH105264)

1шт.

56

19M7932

CAP SCREW

M8 X 16, (SUB FOR TH105265) (ALSO ORDER 12M7065) (SUB FOR 19M7284)

3шт.

12M7056

LOCK WASHER

8 MM, (SUB FOR 12M7065)

3шт.

58

0268017

LOCK WASHER

(SUB FOR TH105266)

1шт.

59

0268018

RETAINER

(SUB FOR TH105267)

1шт.

60

4175962

SHAFT

(SUB FOR TH105268)

1шт.

60A

SHAFT

(SUB TH105268)

1шт.

60B

BUSHING

(SUB TH105268)

1шт.

61

TH105269

TAPERED ROLLER BEARING

1шт.

64

0268020

HOUSING

(SUB FOR TH105270)

1шт.

65

0268021

BUSHING

(SUB FOR TH105271)

1шт.

67

0268022

BUSHING

(SUB FOR TH105272)

1шт.

69

JD7245

BEARING CONE

(SUB FOR TH105273) (ALSO ORDER JD7296)

1шт.

70

19M7662

CAP SCREW

M10 X 30, (SUB FOR TH105274) (ALSO ORDER 12M7066)

11шт.

12M7066

LOCK WASHER

10 MM

11шт.

71

0268025

SHIM

(SUB FOR TH105275)

1шт.

Выбрано товаров: 37