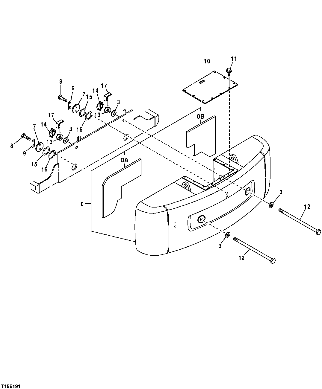
Запчасти John Deere 00C LC 83 - COUNTERWEIGHT 1740 FRAME INSTALLATION

Схема запчастей John Deere 00C LC - 83 - COUNTERWEIGHT 1740 FRAME INSTALLATION
FIT
1:1
100%

Артикул

Название

Примечание

Количество

0

5007735

Counterweight

1шт.

0A

4457845

Isolator

1шт.

0B

4457847

Isolator

1шт.

3

4103743

Bushing

4шт.

7

4270269

Spacer

2шт.

8

J912455

Bolt

4шт.

9

4070952

Strap

2шт.

10

4338256

Cover

1шт.

11

19M7932

Cap Screw

M8 X 16

9шт.

24H1136

Washer

11/32" X 11/16" X 0.065"

9шт.

Washer

12M7065 NLA

9шт.

12

4341856

Cap Screw

2шт.

13

4246150

Nut

2шт.

14

9701925

Quick Lock Pin

2шт.

15

4207762

Washer

4шт.

16

4207763

Shim

2шт.

17

4345741

Shim

2шт.

Выбрано товаров: 17