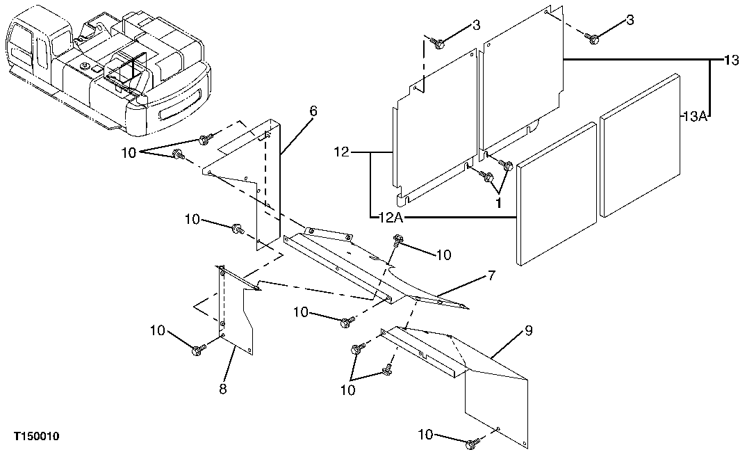
Запчасти John Deere 00C LC 134 - HEAT SHIELD COVER 1910 HOOD OR ENGINE ENCLOSURE

Схема запчастей John Deere 00C LC - 134 - HEAT SHIELD COVER 1910 HOOD OR ENGINE ENCLOSURE
FIT
1:1
100%

Артикул

Название

Примечание

Количество

1

19M8011

Cap Screw

M12 X 30

4шт.

12M7058

Lock Washer

12 mm (SUB FOR 12M7067)

4шт.

24H1748

Washer

1/2" X 1-1/4" X 0.105"

4шт.

3

19M8011

Cap Screw

M12 X 30

4шт.

12H301

Lock Washer

1/2"

4шт.

24M7047

Washer

13 X 24 X 2.500 mm

4шт.

6

2046767

Cover

1шт.

7

7040581

Cover

1шт.

8

8084458

Cover

1шт.

9

2046786

Cover

1шт.

10

19M8011

Cap Screw

M12 X 30

20шт.

12H301

Lock Washer

1/2"

20шт.

24M7047

Washer

13 X 24 X 2.500 mm

20шт.

12

8087215

Cover

1шт.

8091440

Cover

1шт.

12A

4469417

Isolator

1шт.

TH4600281

Isolator

1шт.

13

8087222

Cover

1шт.

8091452

Cover

1шт.

13A

4469417

Isolator

1шт.

TH4600298

Isolator

1шт.

Выбрано товаров: 21