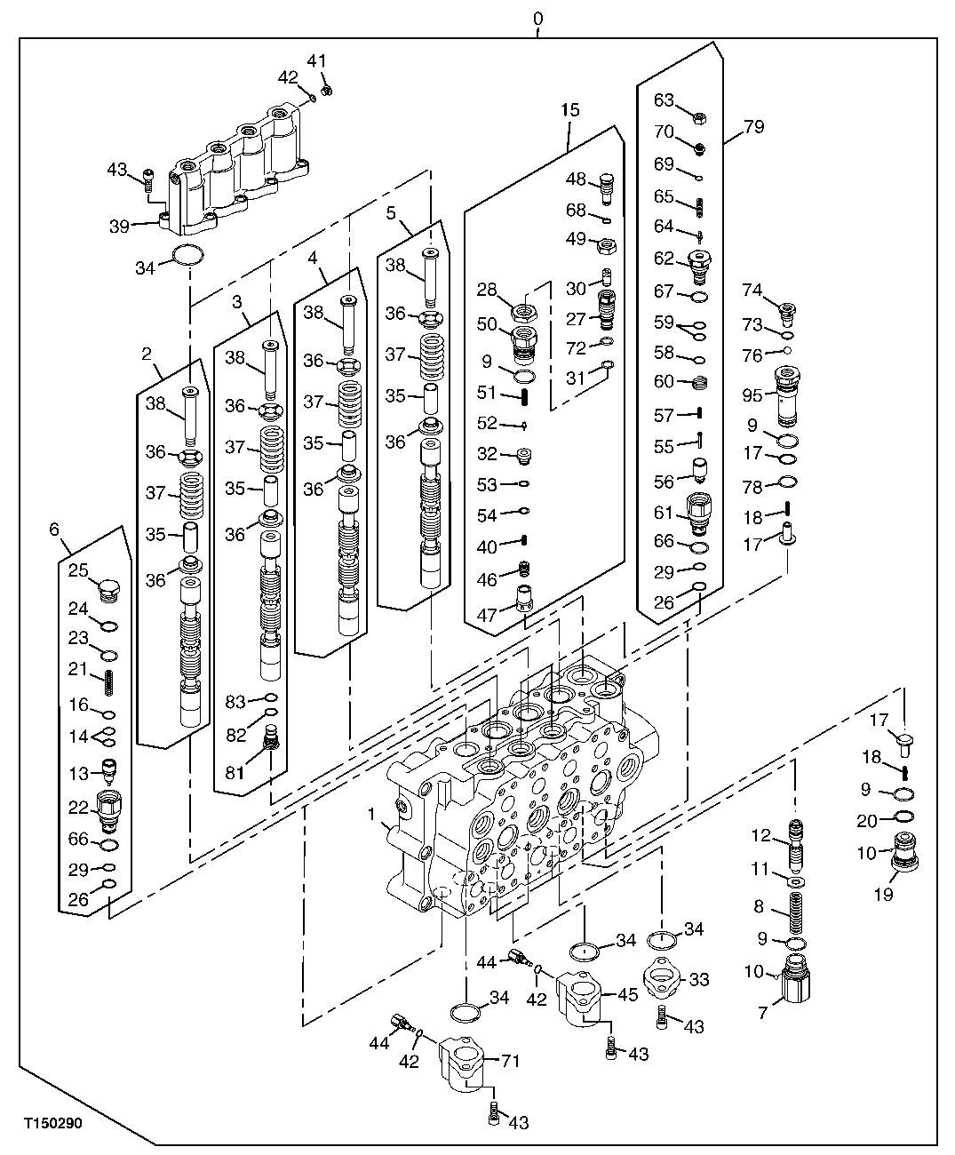
Запчасти John Deere 00C LC 190 - CONTROL VALVE (4 SPOOL) 3362 CONTROL AND LOAD HOLDING VALVES

Схема запчастей John Deere 00C LC - 190 - CONTROL VALVE (4 SPOOL) 3362 CONTROL AND LOAD HOLDING VALVES
FIT
1:1
100%

Артикул

Название

Примечание

Количество

0

4444992

Hyd Actuated Control Valve

Contains All Parts On Thi s Page and Following Pages

1шт.

1

Housing

1шт.

2

Plunger

1шт.

3

Plunger

1шт.

4

Plunger

1шт.

5

Plunger

1шт.

6

0622843

Flow Control Hyd. Valve

2шт.

7

0622817

Cap

(SUB FOR AT202001)

1шт.

8

0810405

Spring

1шт.

9

4088425

O-Ring

(SUB FOR AT202080)

4шт.

10

0189803

Ball

(SUB FOR AT203704)

2шт.

11

0622816

Spacer

(SUB FOR AT202000)

1шт.

12

Spool

( 0810406 NSEP)

1шт.

13

0809734

Poppet

2шт.

14

0809735

Ring

4шт.

15

4473770

Pressure Relief Valve

1шт.

16

0809736

O-Ring

2шт.

17

0622829

Check Valve

2шт.

18

0622827

Spring

(SUB FOR AT202011)

2шт.

19

0622825

Cap

(SUB FOR AT202009)

1шт.

20

0223104

Back-Up Ring

(SUB FOR AT217055)

1шт.

21

0809737

Spring

2шт.

22

0809738

Sleeve

2шт.

23

0809739

O-Ring

2шт.

24

4144045

O-Ring

(SUB FOR 0212312)

2шт.

25

0809740

Cap

2шт.

26

4355080

O-Ring

(SUB FOR AT202086 ) (SUB FOR 415 3099, OR 0818011THIS APPLICATION)

6шт.

27

0809708

Sleeve

1шт.

28

0809709

Nut

1шт.

29

4027959

Back-Up Ring

(SUB FOR TH100771)

6шт.

30

0809710

Orifice

1шт.

31

0809711

O-Ring

1шт.

32

0809712

Valve Seat

1шт.

33

0622803

Cover

(SUB FOR AT201987)

1шт.

34

4073426

O-Ring

(SUB FOR AT217049)

8шт.

35

0622805

Sleeve

(SUB FOR AT201989)

4шт.

36

0622806

Guide

(SUB FOR AT201990)

8шт.

37

0622807

Spring

(SUB FOR AT201991)

4шт.

38

0622808

Cap

(SUB FOR AT201992)

4шт.

39

0809705

Cover

1шт.

40

0809713

Spring

1шт.

41

0622810

Cap

(SUB FOR AT201994)

1шт.

42

M800650

Packing

4шт.

43

19M8169

Screw

M12 X 30 (SUB FOR 19M8127)

16шт.

44

0622875

Plug

(SUB FOR AT172702)

3шт.

45

0818005

Cover

2шт.

46

0809714

Poppet

1шт.

47

0809715

Sleeve

1шт.

48

0809716

Screw

1шт.

49

0809717

Nut

1шт.

50

0809718

Cap

1шт.

51

0135206

Spring

1шт.

52

0809719

Poppet

1шт.

53

4040813

Back-Up Ring

(SUB FOR TH110449)

1шт.

54

0809720

O-Ring

1шт.

55

0809729

Piston

4шт.

56

0809728

Poppet

4шт.

57

0809727

Spring

4шт.

58

0809726

O-Ring

4шт.

59

0809725

Ring

8шт.

Выбрано товаров: 60