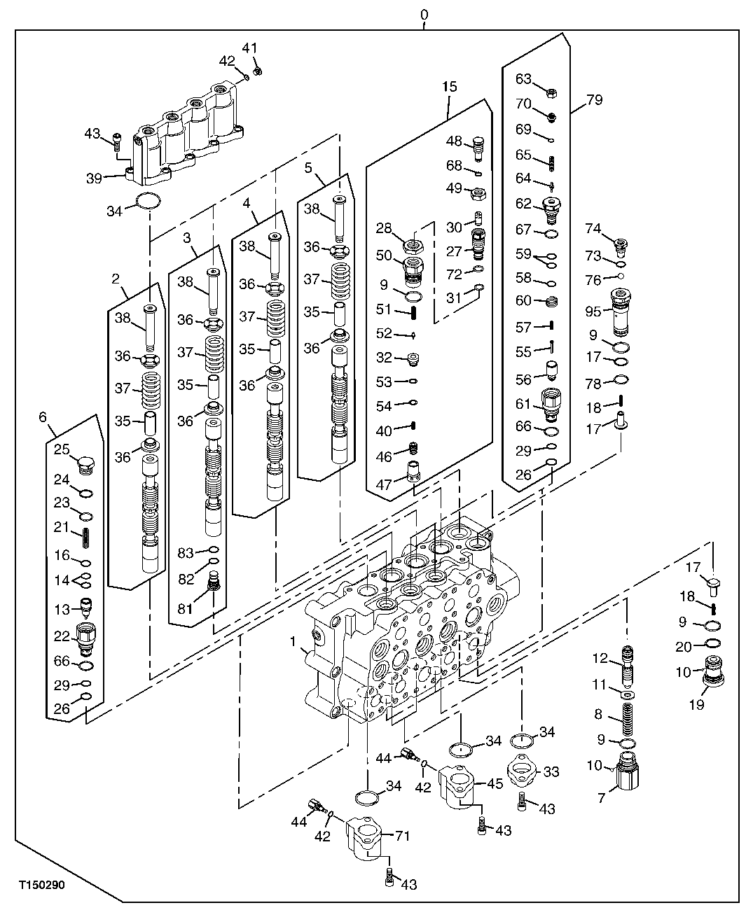
Запчасти John Deere 00C LC 191 - CONTROL VALVE (4 SPOOL) (CONTINUED) 3362 CONTROL AND LOAD HOLDING VALVES

Схема запчастей John Deere 00C LC - 191 - CONTROL VALVE (4 SPOOL) (CONTINUED) 3362 CONTROL AND LOAD HOLDING VALVES
FIT
1:1
100%

Артикул

Название

Примечание

Количество

0

4444992

Hyd Actuated Control Valve

Additional Components Listed O n Previous and Following Pages

1шт.

60

0809724

Spring

4шт.

61

0809723

Sleeve

4шт.

62

0809722

Valve Seat

4шт.

63

0809721

Nut

4шт.

64

0809733

Poppet

4шт.

65

0809732

Spring

4шт.

66

4366528

O-Ring

(SUB FOR 4153108 ) (SUB FOR 0818007, THIS APPLICATION)

6шт.

67

0809731

O-Ring

4шт.

68

0212416

O-Ring

1шт.

69

4366519

O-Ring

(SUB FOR AT202085 ) (SUB FOR 4153089, THIS APPLICATION ) (SUB FOR 0818012)

4шт.

70

0809730

Screw

4шт.

71

0622876

Cover

(SUB FOR AT172703)

1шт.

72

4366521

O-Ring

(SUB FOR TH109041 ) (SUB FOR 415 3098, OR 0818008THIS APPLICATION)

1шт.

73

4506418

O-Ring

(SUB FOR U46489)

1шт.

74

0622871

Seat

(SUB FOR AT202055)

1шт.

75

0810407

Cap

1шт.

76

0622873

Ball

(SUB FOR AT202057)

1шт.

77

4113187

Back-Up Ring

(SUB FOR AT131692)

1шт.

78

966689

O-Ring

(SUB FOR TH108142)

1шт.

79

4391660

Pressure Relief Valve

4шт.

81

0622877

Cap (Hat)

(SUB FOR AT172704)

1шт.

82

0166805

Back-Up Ring

(SUB FOR AT217051)

1шт.

83

CH10568

Packing

1шт.

95

0810407

Cap

1шт.

Выбрано товаров: 25