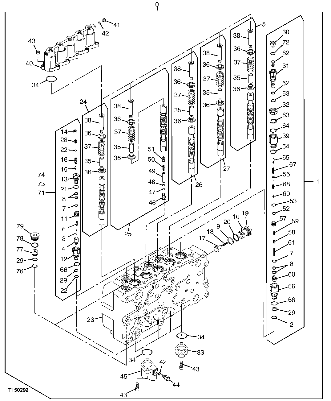
Запчасти John Deere 00C LC 195 - CONTROL VALVE (5 SPOOL) (CONTINUED) 3362 CONTROL AND LOAD HOLDING VALVES

Схема запчастей John Deere 00C LC - 195 - CONTROL VALVE (5 SPOOL) (CONTINUED) 3362 CONTROL AND LOAD HOLDING VALVES
FIT
1:1
100%

Артикул

Название

Примечание

Количество

0

4444992

Hyd Actuated Control Valve

Additional Components Listed O n Previous and Following Pages

1шт.

60

0810721

Poppet

1шт.

61

0810722

Piston

1шт.

62

0810723

Piston

1шт.

63

0810724

Ring

1шт.

64

0810725

O-Ring

1шт.

65

0810726

Poppet

1шт.

66

4366528

O-Ring

(SUB FOR AT202087 OR 4153108 ) (S UB FOR 0818007, THIS APPLICATION)

5шт.

67

0810727

Spring

1шт.

68

0810728

Spring

1шт.

69

0810729

Poppet

1шт.

71

4392200

Pressure Relief Valve

1шт.

72

4366521

O-Ring

(SUB FOR TH109041 ) (SUB FOR 415 3098, OR 0818008THIS APPLICATION)

1шт.

73

4392199

Pressure Relief Valve

1шт.

74

4391660

Pressure Relief Valve

2шт.

76

CH12329

Packing

2шт.

77

0646203

Plug

2шт.

78

0624703

O-Ring

2шт.

79

0624702

Cap

2шт.

Выбрано товаров: 19