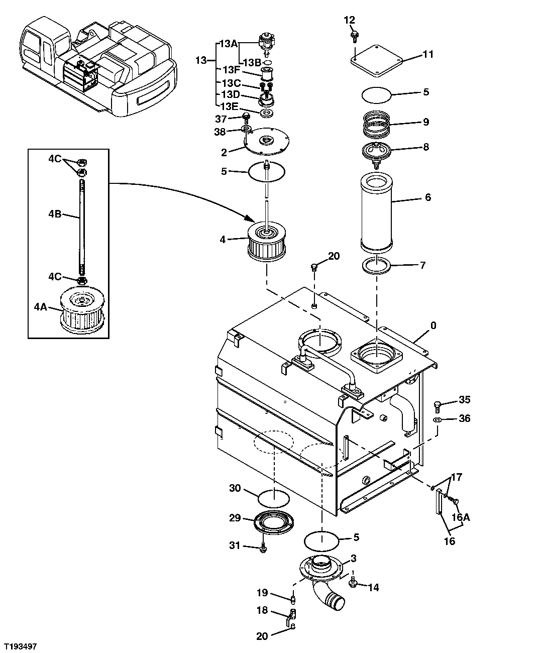
Запчасти John Deere 00C LC 245 - HYDRAULIC RESERVOIR AND FILTER 3364 HYDRAULIC RESERVOIR

Схема запчастей John Deere 00C LC - 245 - HYDRAULIC RESERVOIR AND FILTER 3364 HYDRAULIC RESERVOIR
FIT
1:1
100%

Артикул

Название

Примечание

Количество

0

5007749

Hydraulic Reservoir

1шт.

2

8061926

Cover

SUB FOR TH8061926

1шт.

3

8083948

Flange

1шт.

4

4317008

Strainer

SUB FOR 4455592, ALSO O RDER 4603980 AND J950010

1шт.

4603980

Rod

1шт.

J950010

Nut

1шт.

4A

4317008

Strainer

1шт.

4B

4603980

Rod

1шт.

4C

14M7274

Nut

M10 SUB FOR J950010

1шт.

5

AT131529

O-Ring

3шт.

6

4333469

Filter Element

SUB FOR TH4287634 OR 4287634

1шт.

Filter Element

Cleanup Filter Short Term Use - Ap proximately Three Hours Idle Speed

1шт.

7

4250293

Washer

SUB FOR AT134351

1шт.

8

4271000

Flow Control Hyd. Valve

1шт.

9

4271001

Spring

SUB FOR AT201734

1шт.

11

4344881

Cover

1шт.

12

19M7662

Cap Screw

M10 X 30

4шт.

12M7066

Lock Washer

10 mm

4шт.

13

Breather

4178684 NLA

1шт.

13A

4222874

Filler Cap

SUB FOR AT217084

1шт.

13B

953612

O-Ring

SUB FOR TH111019

1шт.

13C

19M8146

Screw

M5 X 16

3шт.

13D

4222875

Base

SUB FOR TH111021

1шт.

13E

4222876

Packing

SUB FOR TH111022

1шт.

13F

4251384

Filter Element

1шт.

14

19M7402

Cap Screw

M10 X 25

6шт.

12M7066

Lock Washer

10 mm

6шт.

16

8053499

Level Gauge

1шт.

16A

4100967

Bolt

SUB FOR TH101894

2шт.

17

449558

Washer

SUB FOR TH100675

4шт.

18

4209782

Hand Operated Valve

1шт.

19

94-1702

Adapter Fitting

SUB FOR TH102949

1шт.

20

R30298

Pipe Plug

2шт.

29

8023981

Cover

SUB FOR TH101891

1шт.

30

TH100679

O-Ring

1шт.

31

19M7402

Cap Screw

M10 X 25

6шт.

12M7066

Lock Washer

10 mm

6шт.

35

19M7488

Cap Screw

M16 X 40

8шт.

36

4114405

Washer

SUB FOR TH101105

8шт.

37

19M7938

Cap Screw

M10 X 20

6шт.

38

12M7066

Lock Washer

10 mm

6шт.

Выбрано товаров: 41