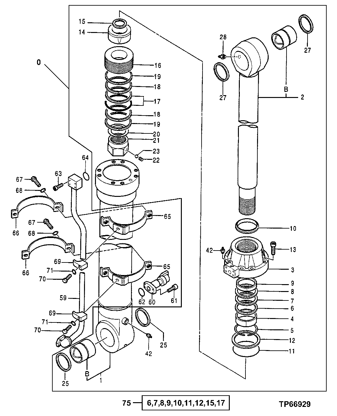
Запчасти John Deere 00C LC 247 - Hydraulic Bucket Cylinder 3365 HYDRAULIC CYLINDERS

Схема запчастей John Deere 00C LC - 247 - Hydraulic Bucket Cylinder 3365 HYDRAULIC CYLINDERS
FIT
1:1
100%

Артикул

Название

Примечание

Количество

0

4441575J

Hydraulic Cylinder

Without Plumbing SUB FOR 4441575

1шт.

1

0645101

Hydraulic Cylinder Barrel

SUB FOR TH0645101

1шт.

1B

4660856

Bushing

SUB FOR TH0645002

1шт.

2

0740701

Rod

1шт.

2B

4609092

Bushing

SUB FOR TH0645103 OR 0645103

1шт.

3

0740702

Hydr. Cylinder Rod Guide

1шт.

4

AT264250

Bushing

SUB FOR AT132313 OR 0353004

1шт.

5

0133709

Snap Ring

SUB FOR TH104999

1шт.

6

AT264251

Ring

SUB FOR 0941506, AT132 314, 0353005 OR 4S00045

1шт.

7

AT264242

Seal

SUB FOR AT132164 OR 4S00037

1шт.

8

AT264246

Back-Up Ring

SUB FOR AT132173 OR 4S00038

1шт.

9

0353006

Ring

SUB FOR AT204901 OR AT132315

1шт.

10

AT264282

Ring

SUB FOR AT132174, AT191199 OR 4437982

1шт.

11

A811170

O-Ring

SUB FOR THA811170

1шт.

12

TH0332704

Back-Up Ring

1шт.

13

0259304

Cap Screw

SUB FOR TH0417606

8шт.

14

0740703

Bearing

1шт.

15

Seal

0420305 Not Used For This Application

1шт.

16

0643014

Piston

SUB FOR TH0643014

1шт.

17

0332706

Seal

SUB FOR TH0332706

1шт.

18

0643015

Ring

SUB FOR TH0643015

2шт.

19

0332708

Ring

SUB FOR TH0332708

2шт.

20

0353010

Shim

SUB FOR AT132319

1шт.

21

0353009

Nut

SUB FOR AT132318

1шт.

22

0353012

Set Screw

SUB FOR AT132321

1шт.

23

0353011

Ball

SUB FOR AT132320

1шт.

25

0420111

Ring

SUB FOR AT201579 OR 4S00853

2шт.

27

4205000

Seal

SUB FOR TH4205000, 4S00225 OR 4S00817

2шт.

28

TH100074

Lubrication Fitting

1шт.

42

0643016

Bleed Valve

SUB FOR TH0643016

2шт.

59

4S00348

Line

SUB FOR TH0645105

1шт.

60

0645106

Oil Line

SUB FOR TH0645106

1шт.

61

19M8395

Screw

M12 X 40

4шт.

62

AT264348

O-Ring

SUB FOR TH102788

1шт.

63

0259207

Cap Screw

SUB FOR TH0259207

4шт.

64

AT264254

O-Ring

SUB FOR AT132423 OR 955612

1шт.

65

0645107

Clamp

SUB FOR TH0645107

2шт.

66

0645108J

Half Clamp

SUB FOR 0645108 OR TH0645108

2шт.

67

19M7550

Cap Screw

M10 X 35

4шт.

68

12M7066

Lock Washer

10 mm

4шт.

69

0309219J

Half Clamp

SUB FOR 0309219 OR T108064

2шт.

70

19M7363

Cap Screw

M12 X 60 SUB FOR 19M7273

2шт.

71

12M7058

Lock Washer

12 mm SUB FOR 12M7067

2шт.

75

4652906

Seal Kit

SUB FOR 4442368

1шт.

Выбрано товаров: 44