Запчасти John Deere 00C LC 29 - CYLINDER HEAD COVER 0409 CYLINDER HEAD AND VALVES

Схема запчастей John Deere 00C LC - 29 - CYLINDER HEAD COVER 0409 CYLINDER HEAD AND VALVES
FIT
1:1
100%

Артикул

Название

Примечание

Количество

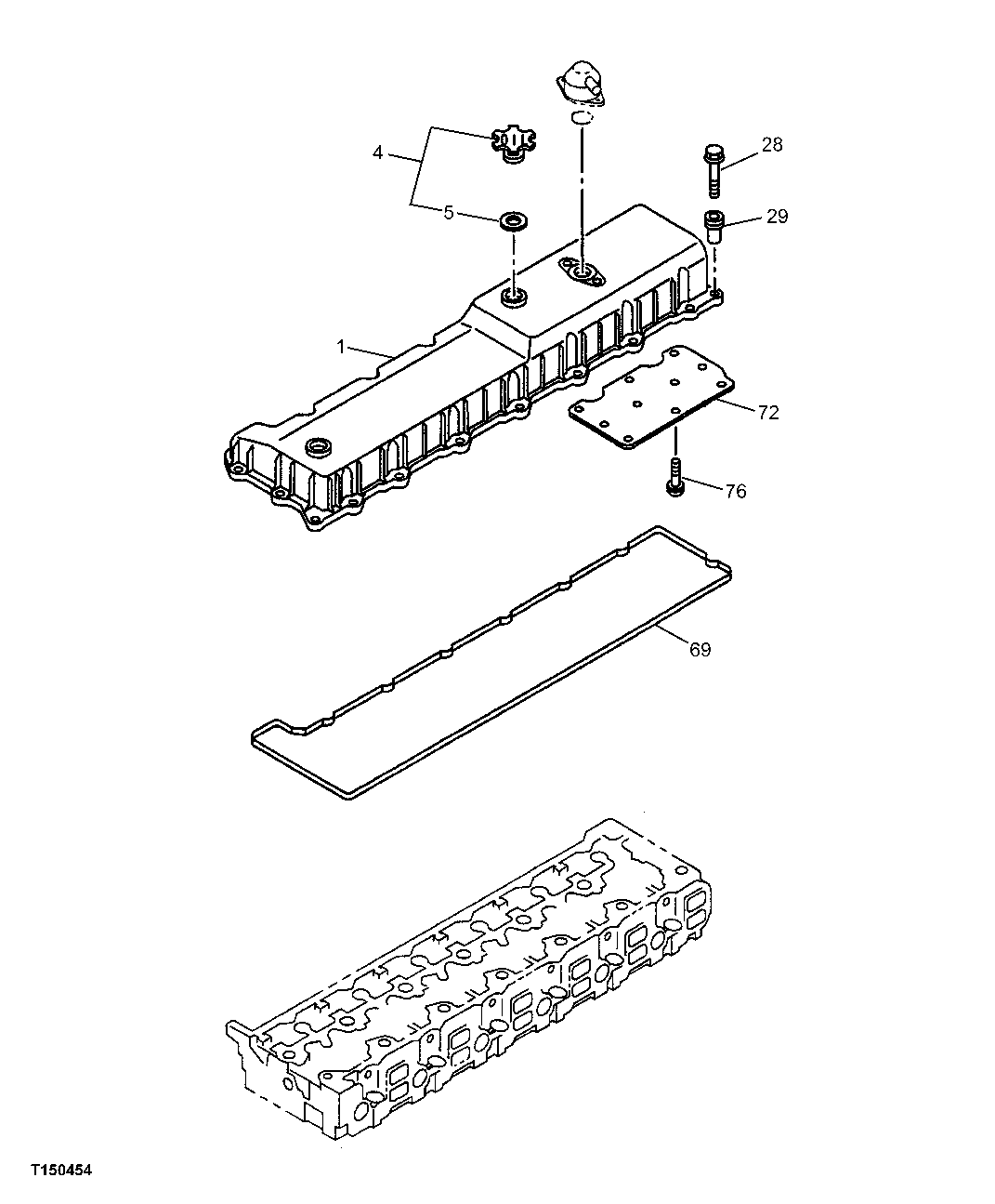
1

1111804640

Valve Cover

(SUB FOR AT263961)

1шт.

4

8943997230

Filler Cap

(SUB FOR AT263658)

1шт.

5

8943996890

O-Ring

(A) (SUB FOR AT263785)(B)

1шт.

28

0286808350

Bolt

(SUB FOR AT259941)

20шт.

29

8976018491

Isolator

20шт.

69

1111731102

Engine Cylinder Head Gasket

(A) (SUB FOR AT263786 ) (SUB FOR 1111730800)(B)

1шт.

72

1111804640

Valve Cover

(SUB FOR AT263962, 1111791050)

1шт.

76

0280506100

Bolt

(SUB FOR AT263853 OR 0280806100)

10шт.

Выбрано товаров: 8