Запчасти John Deere 00C LC 30 - EXHAUST MANIFOLD 0410 EXHAUST MANIFOLD

Схема запчастей John Deere 00C LC - 30 - EXHAUST MANIFOLD 0410 EXHAUST MANIFOLD
FIT
1:1
100%

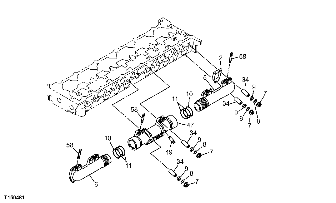
Артикул

Название

Примечание

Количество

2

1141451821

Gasket

(A) SUB FOR AT263777, B

6шт.

5

1141419990

Exhaust Manifold

SUB FOR AT264079

1шт.

6

1141420010

Exhaust Manifold

SUB FOR AT264080

1шт.

7

0911802100

Nut

SUB FOR TH4447336, 4447336

18шт.

8

1095560150

Washer

(SUB FOR AT263911)TK = 2.2 SUB FOR (1) AT263911

18шт.

9

1141490420

Washer

(SUB FOR AT264081)TK = 5.5 SUB FOR (1) AT264081

18шт.

10

1141492010

Seal

SUB FOR AT264082

2шт.

11

9141490261

Ring

SUB FOR AT264158 AND 9141490260

4шт.

34

Spacer

(SUB FOR AT264119 L = 43) SUB F OR (1) AT264119, 8943964060 NLA

18шт.

47

1141419380

Exhaust Manifold

SUB FOR AT264078

1шт.

49

8973780710

Stud

SUB FOR AT263905 OR 1093021671

4шт.

58

0410108200

Stud

(SUB FOR AT255006 OR 9041108200)M8 X 20, L = 32 SUB FOR (1) AT255006 OR (1) 9041108200

4шт.

Выбрано товаров: 12