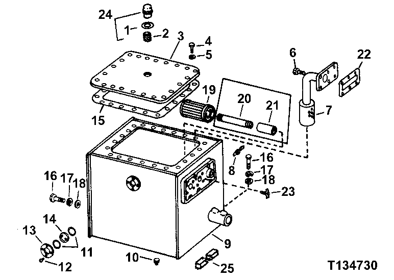
Запчасти John Deere 90 1 - OIL RESERVOIR 60 - HYDRAULIC SYSTEM

Схема запчастей John Deere 90 - 1 - OIL RESERVOIR 60 - HYDRAULIC SYSTEM
FIT
1:1
100%

Артикул

Название

Примечание

Количество

1

R31486

WASHER

1шт.

2

A4234R

THREADED NIPPLE

1шт.

3

AT34196

COVER

(A)

1шт.

4

19H3239

CAP SCREW

(A) 3/8" X 1-1/4"

22шт.

5

12H304

LOCK WASHER

(A) 3/8"

22шт.

6

19H2898

CAP SCREW

1/2" X 1-1/4"

6шт.

7

AT34195

TUBE

1шт.

8

AT28163

SENDER

TEMPERATURE

1шт.

9

RESERVOIR

( AU43210 NO LONGER AVAILABLE) (SUB AT35084, T27603 AND R29936)

1шт.

RESERVOIR

(A) INCLUDES ALL (NUMBERS FOLLOWED BY AN ASTERISK) ( AT35084 USE IF AVAILABLE)

1шт.

10

15H585

PIPE PLUG

SQ. HD., 3/4", (SUB FOR U17027, THIS APPLICATION)

1шт.

11

U10289

O-RING

2шт.

12

21H1300

SCREW

0.190" X 3/8"

4шт.

13

U13551

WASHER

1шт.

14

U13425

WINDOWPANE

1шт.

15

U45159

GASKET

(A)

1шт.

16

19H2993

CAP SCREW

1/2" X 1-1/2"

8шт.

17

12H301

LOCK WASHER

1/2"

8шт.

18

24H1254

WASHER

17/32" X 1-1/8" X 0.105"

8шт.

24H1211

WASHER

9/16" X 1-3/8" X 0.105"

8шт.

19

AT32408

FILTER

1шт.

20

THREADED NIPPLE

2-1/2" X 5" (NO LONGER AVAILABLE)

1шт.

21

COUPLING

(NO LONGER AVAILABLE)

1шт.

22

T35273

GASKET

1шт.

23

AT13740

DRAIN VALVE

1шт.

24

AR30697

CAP

1шт.

25

MOLDING

102 MM (4") LONG, (MAKE FROM R41358)

1шт.

Выбрано товаров: 27