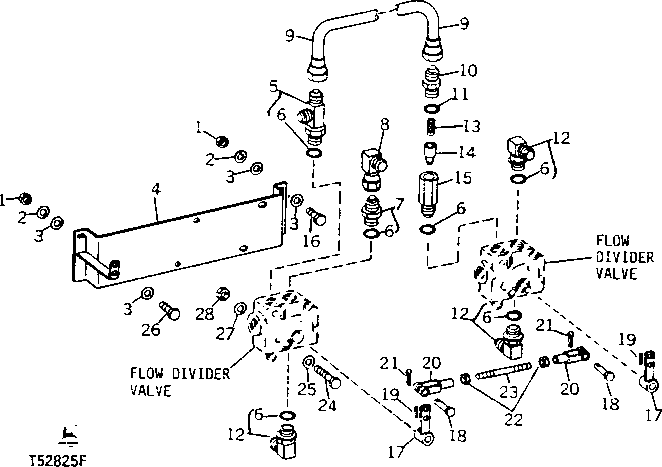
Запчасти John Deere 90 17 - FLOW DIVIDER, BRACKET AND OIL LINE 60 - HYDRAULIC SYSTEM

Схема запчастей John Deere 90 - 17 - FLOW DIVIDER, BRACKET AND OIL LINE 60 - HYDRAULIC SYSTEM
FIT
1:1
100%

Артикул

Название

Примечание

Количество

1

14H1040

NUT

1/2", (SUB FOR 14H809)

3шт.

2

12H301

LOCK WASHER

1/2"

3шт.

3

24H1341

WASHER

17/32" X 15/16" X 0.060"

6шт.

4

AT34520

BRACKET

1шт.

5

X20R5OX-S

TEE FITTING

(SUB FOR AT31891)

1шт.

6

R29936

O-RING

6шт.

7

AU43250

FITTING

1шт.

8

AT33917

ELBOW FITTING

SWIVEL, 90°, (SUB FOR AR29422)

1шт.

9

AT34467

LINE

1шт.

10

T34433

ADAPTER FITTING

(SUB FOR AT34770 AND T50129) (ALSO ORDER U12547)

1шт.

11

U12547

O-RING

(SUB FOR F3171R)

1шт.

12

X2503-16-16

ELBOW FITTING

(SUB FOR AU42832) 90°

3шт.

13

T26072

SPRING

1шт.

14

T35780

CHECK VALVE

1шт.

15

T35781

FITTING

1шт.

16

19H2898

CAP SCREW

1/2" X 1-1/4"

2шт.

17

AT34524

HANDLE

2шт.

18

L4667T

PIN FASTENER

(SUB R662R AND 11M7082)

2шт.

R662R

PIN FASTENER

1шт.

19

34H312

SPRING PIN

1/4" X 1"

2шт.

20

M3742T

YOKE

2шт.

21

11M7077

COTTER PIN

1.600 X 25 MM, (USE WITH L4667T)

2шт.

11H234

COTTER PIN

3/32" X 1", (USE WITH R662R)

2шт.

22

14H649

NUT

1/4"

2шт.

23

T35554

STUD

1шт.

24

19H2855

CAP SCREW

3/8" X 3-1/4"

4шт.

25

24H1305

WASHER

13/32" X 13/16" X 0.065"

4шт.

26

19H2473

CAP SCREW

1/2" X 1-3/4"

1шт.

27

12H304

LOCK WASHER

3/8"

4шт.

28

14H812

NUT

3/8"

4шт.

Выбрано товаров: 30