Запчасти John Deere 90 18 - BUCKET LINKS 65 - BOOM, DIPPERSTICK, BUCKETS AND CYLINDERS

Схема запчастей John Deere 90 - 18 - BUCKET LINKS 65 - BOOM, DIPPERSTICK, BUCKETS AND CYLINDERS
FIT
1:1
100%

Артикул

Название

Примечание

Количество

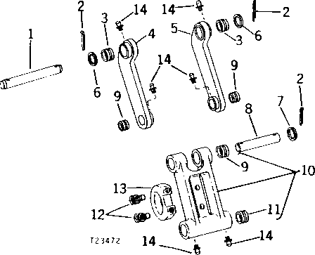
1

U46074

PIN FASTENER

1шт.

2

11H277

COTTER PIN

1/2" X 4"

4шт.

3

U43784

BUSHING

2шт.

4

AU43241

LINK

L.H. WITH BUSHINGS

1шт.

5

AU43240

LINK

R.H. WITH BUSHINGS

1шт.

6

U43779

WASHER

2шт.

7

U46437

WASHER

2шт.

8

T35603

PIN FASTENER

(SUB FOR U46435)

1шт.

9

U45284

BUSHING

4шт.

10

AU43577

LINK

1шт.

11

U43784

BUSHING

2шт.

12

19H2431

CAP SCREW

HS, SAE 8, 3/4" X 2-1/4"

2шт.

12H236

LOCK WASHER

3/4"

2шт.

13

T36245

ANCHOR

1шт.

14

JD7759

LUBRICATION FITTING

STRAIGHT, 1/8"

8шт.

JD7759

LUBRICATION FITTING

STRAIGHT, 1/8"

6шт.

Выбрано товаров: 16