Запчасти John Deere 90 3 - COUNTERWEIGHT 70 - GRILLE, HOOD, FENDERS, BUMPER AND SEAT

Схема запчастей John Deere 90 - 3 - COUNTERWEIGHT 70 - GRILLE, HOOD, FENDERS, BUMPER AND SEAT
FIT
1:1
100%

Артикул

Название

Примечание

Количество

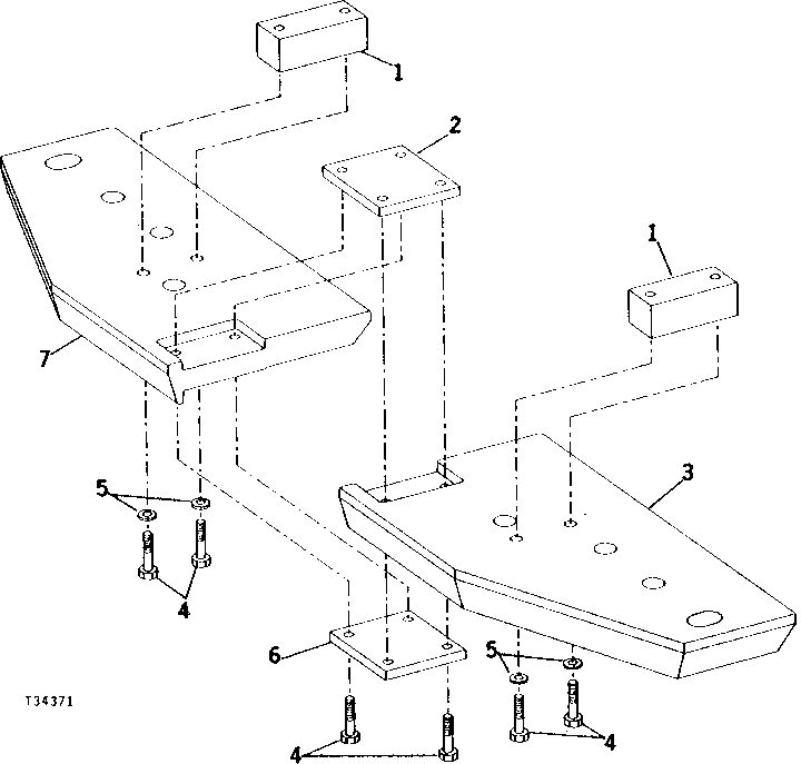
1

T43573

STRAP

(A) (B)

2шт.

2

T43572

PLATE

(A) (B)

1шт.

3

T43569

COUNTERWEIGHT

(A) RIGHT (USED WITH T43570) (IF AVAILABLE SUB T61052 AND T61053)

1шт.

COUNTERWEIGHT

(A) RIGHT ( T61052 USE IF AVAILABLE)

1шт.

4

19H2825

CAP SCREW

(A) (B) HS, SAE 8, 3/4" X 4-1/4"

8шт.

5

U10104

BUSHING

(A) (B)

4шт.

6

T43571

PLATE

(A) (B)

1шт.

7

T43570

COUNTERWEIGHT

(A) LEFT (USED WITH T43569) (IF AVAILABLE SUB T61052 AND T61053)

1шт.

COUNTERWEIGHT

(A) ( T61053 USE IF AVAILABLE)

1шт.

AT47101

MOUNTING PARTS

(A) AT42552 REINFORCING KIT MUST BE INSTALLED BEFORE ORDERING AT47101 (SUB AT46453)

1шт.

AT42552

KIT

COUNTERWEIGHT WITH REINFORCING (NO LONGER AVAILABLE)

1шт.

AT46453

MOUNTING PARTS

1шт.

Выбрано товаров: 12