Запчасти John Deere 90 15 - STARTER SOLENOID SWITCH 85 - ALTERNATOR, STARTING MOTOR, REGULATOR AND BATTERIES

Схема запчастей John Deere 90 - 15 - STARTER SOLENOID SWITCH 85 - ALTERNATOR, STARTING MOTOR, REGULATOR AND BATTERIES
FIT
1:1
100%

Артикул

Название

Примечание

Количество

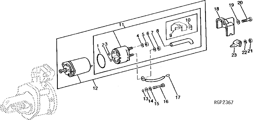
1

R68224

GASKET

1шт.

2

R56792

WASHER

1шт.

3

R56793

SHIM

1шт.

4

12H303

LOCK WASHER

5/16"

1шт.

5

R51671

NUT

1шт.

6

12H246

LOCK WASHER

0.190"

1шт.

7

14H631

NUT

0.190"

2шт.

8

R68222

BOOT

(A)

1шт.

9

COVER

(A) (SUB RE39064)

1шт.

10

PLATE

(A) NO LONGER REQUIRED

1шт.

11

RE13733

SOLENOID

(B) (NIPPONDENSO NO. 028099-3600) (SUB FOR AR90071)

1шт.

12

RE13732

SOLENOID

(A) (NIPPONDENSO NO. 028099-3610) (SUB FOR AR90070)

1шт.

13

R50894

O-RING

2шт.

14

24H1305

WASHER

13/32" X 13/16" X 0.065"

2шт.

15

12H302

LOCK WASHER

1/4"

2шт.

16

R51669

SCREW

2шт.

17

RE15058

WIRE

(SUB FOR AR55949)

1шт.

18

R76139

COVER

(B) (SUB RE39064)

1шт.

19

R51662

WASHER

1шт.

20

AR55946

SCREW

1шт.

21

14H732

NUT

3/8"

2шт.

22

R50899

LOCK WASHER

2шт.

23

R50910

ELECTRICAL CONNECTOR ASSY

(NIPPONDENSO NO. 028172-0381)

1шт.

Выбрано товаров: 0