Запчасти John Deere 90 19 - ENGINE OIL PUMP 10 - ENGINE

Схема запчастей John Deere 90 - 19 - ENGINE OIL PUMP 10 - ENGINE
FIT
1:1
100%

Артикул

Название

Примечание

Количество

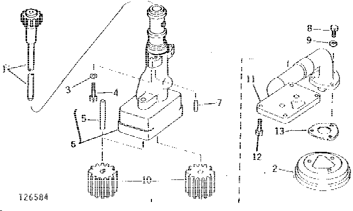
1

R64568

GEAR

(SUB FOR R45133)

1шт.

2

AR47524

FUNNEL

(SUB AR56639)

1шт.

AR56639

OIL PUMP INTAKE

1шт.

3

M72490

WASHER

(A) (SUB FOR R42729)

2шт.

4

R40808

CAP SCREW

(SUB AR63865, THIS APPLICATION)

2шт.

R41920

CAP SCREW

(A) (USE WHEN AR63865 HAS BEEN INSTALLED)

2шт.

R38614

CAP SCREW

(SUB FOR R56609)

2шт.

5

R42390

SHAFT

1шт.

6

AR71124

KIT

(MARKED R49015, R56608 OR R59034) (SUB AR71126, (2) R41920 AND (2) R42729) (SUB FOR AR52440 OR AR68314)

1шт.

7

DOWEL PIN

( H826R NO LONGER REQUIRED)

1шт.

8

19H1900

CAP SCREW

5/16" X 3/4", (USE WITH AR52572)

3шт.

19H1905

CAP SCREW

5/16" X 1", (USE WITH AR71119)

3шт.

19H2127

CAP SCREW

5/16" X 7/8", (USE WITH AR75897)

3шт.

9

12H303

LOCK WASHER

5/16"

3шт.

10

AR71123

GEAR

(SUB FOR AR52570)

1шт.

11

AR48528

HOUSING

(MARKED R46376) (SUB AR72323)

1шт.

AR72323

HOUSING

(MARKED R42395 OR R52050) (SUB FOR AR56640 OR AR62334)

1шт.

12

R46567

SCREW

4шт.

13

R52049

GASKET

1шт.

AR75897

OIL PUMP

(SUB AR71119, R41920 AND R42729) (SUB FOR AR52572 OR AR71119)

1шт.

AR71126

HOUSING

1шт.

Выбрано товаров: 21