Запчасти John Deere 90 2 - RADIATOR BAFFLES, AIR DUCT AND OIL COOLER 25 - COOLING SYSTEM

Схема запчастей John Deere 90 - 2 - RADIATOR BAFFLES, AIR DUCT AND OIL COOLER 25 - COOLING SYSTEM
FIT
1:1
100%

Артикул

Название

Примечание

Количество

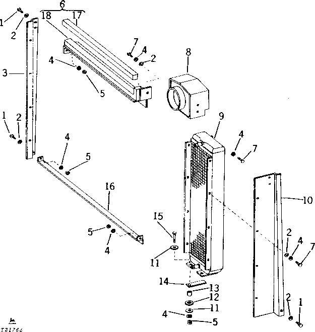
1

19H2705

CAP SCREW

5/16" X 1"

4шт.

2

24H1685

WASHER

11/32" X 47/64" X 0.083"

12шт.

3

DEFLECTOR

R.H. ( U45326 NO LONGER AVAILABLE)

1шт.

4

12H303

LOCK WASHER

5/16"

21шт.

5

14H785

NUT

5/16"

6шт.

6

DEFLECTOR

TOP ( AU43727 NO LONGER AVAILABLE)

1шт.

7

19H1813

CAP SCREW

5/16" X 5/8"

21шт.

8

AIR DUCT

INLET ( AU43573 NO LONGER AVAILABLE)

1шт.

9

AU43281

OIL COOLER

1шт.

10

DEFLECTOR

L.H. ( U45327 NO LONGER AVAILABLE)

1шт.

11

24M7101

WASHER

11 X 34 X 3 MM

4шт.

12

U45315

WASHER

2шт.

13

T19541

BUSHING

(NO LONGER AVAILABLE)

2шт.

14

R26413

STRAP

2шт.

15

19H2569

CAP SCREW

5/16" X 1-5/8"

2шт.

16

DEFLECTOR

BOTTOM ( U45324 NO LONGER AVAILABLE)

1шт.

17

ISOLATOR

( U46235 NO LONGER AVAILABLE)

1шт.

18

DEFLECTOR

TOP ( U45325 NO LONGER AVAILABLE)

1шт.

Выбрано товаров: 18