Запчасти John Deere 90 11 - FUEL INJECTION PUMP, PIPES AND NOZZLES 30 - FUEL SYSTEM

Схема запчастей John Deere 90 - 11 - FUEL INJECTION PUMP, PIPES AND NOZZLES 30 - FUEL SYSTEM
FIT
1:1
100%

Артикул

Название

Примечание

Количество

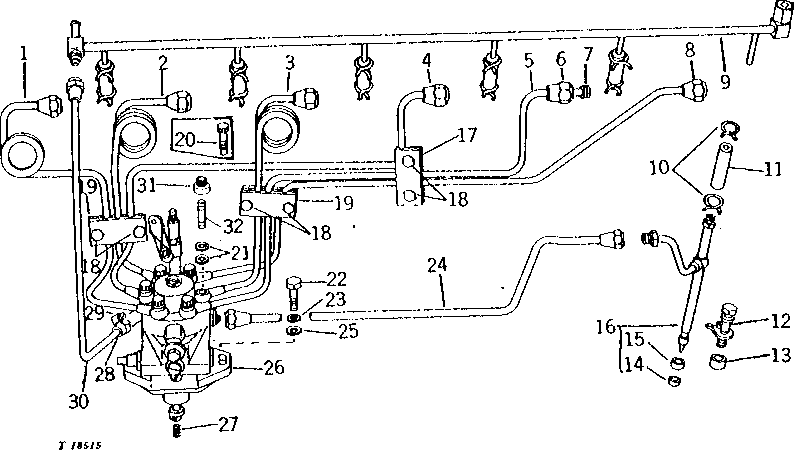
1

FUEL LINE

NO. 6 ( AR41547 - NO LONGER AVAILABLE)

1шт.

2

AR41546

FUEL LINE

NO. 5, ( AR41546 NO LONGER AVAILABLE)

1шт.

3

AR41545

FUEL LINE

NO. 4

1шт.

4

AR41544

FUEL LINE

NO. 3

1шт.

5

AR41543

FUEL LINE

NO. 2

1шт.

6

R34763

FITTING

6шт.

7

R34762

SLEEVE

6шт.

8

AR41542

FUEL LINE

NO. 1

1шт.

9

AR47221

FUEL LINE

1шт.

10

R34766

CLAMP

12шт.

11

R34765

BOOT

6шт.

12

R34760

CLAMP

6шт.

13

R34761

SPACER

6шт.

14

R48000

SEAL

(SUB FOR R34767)

6шт.

15

R34764

WASHER

6шт.

16

INJECTION NOZZLE

(SUB AR52014 OR SE501167 OR SE501166) (SUB FOR AR43830, AR49226 OR AR49307)

6шт.

17

R27782

STRAP

1шт.

R27781

STRAP

1шт.

R27783

CUSHION

2шт.

18

19H1914

CAP SCREW

1/4" X 1"

6шт.

19

R26728

STRAP

(SUB FOR R34785)

2шт.

R26789

STRAP

(SUB FOR R34786)

2шт.

R34787

CUSHION

4шт.

20

R41680

SCREW

6шт.

R46844

SCREW

6шт.

21

T20055

WASHER

12шт.

22

19H2705

CAP SCREW

5/16" X 1"

2шт.

23

12H303

LOCK WASHER

5/16"

2шт.

24

AR41549

LINE

1шт.

25

24H1136

WASHER

11/32" X 11/16" X 0.065"

2шт.

26

AR43204

FUEL INJECTION PUMP

(A) (ROOSA-MASTER NO. CBC633-19AL) (SUB AR69416 AND AR69411 OR SE500552)

1шт.

AR48683

FUEL INJECTION PUMP

(A) (ROOSA-MASTER NO. CBC633-38AL) (SUB AR69416 AND AR69411 OR SE500552)

1шт.

27

R44686

SPRING

1шт.

28

R32639

HOSE

1шт.

29

TY22464

CLAMP

(SUB FOR AR21836)

1шт.

30

LINE

( AR47739 NO LONGER AVAILABLE)

1шт.

31

R46669

NUT

6шт.

32

R46844

SCREW

6шт.

Выбрано товаров: 0