Запчасти John Deere 90 12 - FUEL INJECTION PUMP, PIPES AND NOZZLES CONVERSION 30 - FUEL SYSTEM

Схема запчастей John Deere 90 - 12 - FUEL INJECTION PUMP, PIPES AND NOZZLES CONVERSION 30 - FUEL SYSTEM
FIT
1:1
100%

Артикул

Название

Примечание

Количество

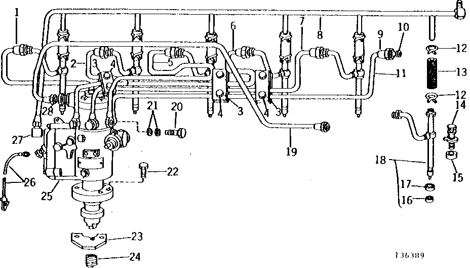
1

AR51199

FUEL LINE

NO. 6

1шт.

2

AR51198

FUEL LINE

NO. 5

1шт.

3

R26728

STRAP

3шт.

R26789

STRAP

3шт.

R26790

CUSHION

3шт.

4

19H1914

CAP SCREW

1/4" X 1"

6шт.

5

AR51197

FUEL LINE

NO. 4

1шт.

6

AR51196

FUEL LINE

NO. 3

1шт.

7

AR51195

FUEL LINE

NO. 2

1шт.

8

AR34807

FUEL LINE

1шт.

9

R34763

FITTING

6шт.

10

R34762

SLEEVE

6шт.

11

AR51194

FUEL LINE

NO. 1

1шт.

12

R34766

CLAMP

12шт.

13

R34765

BOOT

6шт.

14

R34760

CLAMP

6шт.

15

R34761

SPACER

6шт.

16

R48000

SEAL

6шт.

17

R34764

WASHER

6шт.

18

INJECTION NOZZLE

(SUB AR52014)

6шт.

19

AR50265

FUEL LINE

1шт.

20

R26726

HOLLOW SCREW

6шт.

21

T20055

WASHER

12шт.

22

19H1849

CAP SCREW

5/16" X 1-1/4"

2шт.

23

AR69420

CLAMP

1шт.

24

R44686

SPRING

1шт.

25

AR69416

FUEL INJECTION PUMP

(A) (ROOSA-MASTER NO. JDB633AL2718)

1шт.

SE500552

FUEL INJECTION PUMP

(REMANUFACTURED FOR RE69416)

1шт.

26

AR49907

WIRING LEAD

1шт.

27

AR40820

ELBOW FITTING

1шт.

28

R32136

FITTING

1шт.

Выбрано товаров: 31