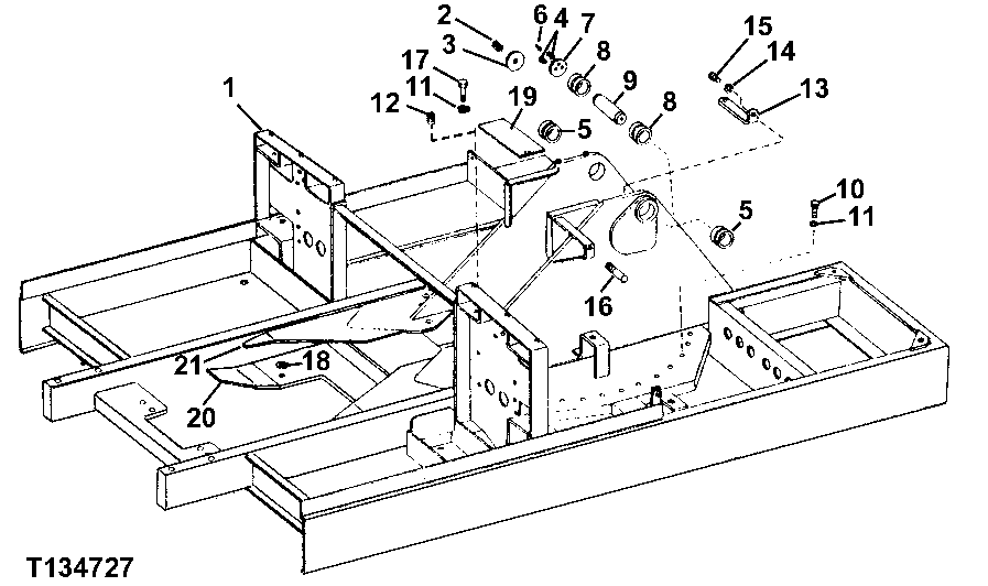
Запчасти John Deere 90 1 - MAIN FRAME 40 - MAIN FRAME AND UNDERCARRIAGE

Схема запчастей John Deere 90 - 1 - MAIN FRAME 40 - MAIN FRAME AND UNDERCARRIAGE
FIT
1:1
100%

Артикул

Название

Примечание

Количество

1

AU43444

FRAME

WITH BUSHINGS, (SUB AT37245)

1шт.

AT33524

FRAME

(SUB AT37245) WITH BUSHINGS

1шт.

MAIN FRAME

(ALSO ORDER (4) T38481 CAP SCREWS AND T33478 CAP SCREW) ( AT37245 NO LONGER AVAILABLE)

1шт.

2

19H2472

CAP SCREW

1/2" X 1"

2шт.

12H301

LOCK WASHER

1/2"

2шт.

3

U45880

BUSHING

2шт.

4

19H2898

CAP SCREW

HS, SAE 8, 1/2" X 1-1/4"

4шт.

12H301

LOCK WASHER

1/2"

4шт.

5

U44043

BUSHING

2шт.

6

JD7759

LUBRICATION FITTING

STRAIGHT, 1/8"

4шт.

7

U45879

SPACER

2шт.

8

U43784

BUSHING

4шт.

9

U45874

PIN FASTENER

BOOM, CYLINDER

2шт.

10

T45564

SCREW

3/4" X 2-1/2", (SUB FOR T33477)

30шт.

T45564

SCREW

3/4" X 2-1/2", (SUB FOR T33477)

25шт.

T38481

CAP SCREW

3/4" X 8-1/4" (BETWEEN BOOM PIVOT CARS AND RAIL)

4шт.

11

12H236

LOCK WASHER

3/4"

35шт.

12

15H243

ADAPTER FITTING

SQ. HD, 2-1/2"

1шт.

13

U46718

ANGLE

1шт.

14

12H301

LOCK WASHER

1/2"

1шт.

15

19H2993

CAP SCREW

1/2" X 1-1/2"

1шт.

16

U40158

STUD

1шт.

17

T33478

CAP SCREW

3/4" X 2" (USE IN COUNTERBORE HOLES)

5шт.

T33478

CAP SCREW

3/4" X 2" (USE IN COUNTERBORE HOLES)

6шт.

18

24H1407

WASHER

13/16" X 2" X 0.060"

4шт.

19

H21259

MAT

2шт.

20

REINFORCEMENT

(A) (SUB AT42552)

1шт.

21

GUSSET

(A) (SUB AT42552)

1шт.

AT42552

KIT

COUNTERWEIGHT AND REINFORCING

1шт.

Выбрано товаров: 29