Запчасти John Deere 90 2 - UNDERCARRIAGE 40 - MAIN FRAME AND UNDERCARRIAGE

Схема запчастей John Deere 90 - 2 - UNDERCARRIAGE 40 - MAIN FRAME AND UNDERCARRIAGE
FIT
1:1
100%

Артикул

Название

Примечание

Количество

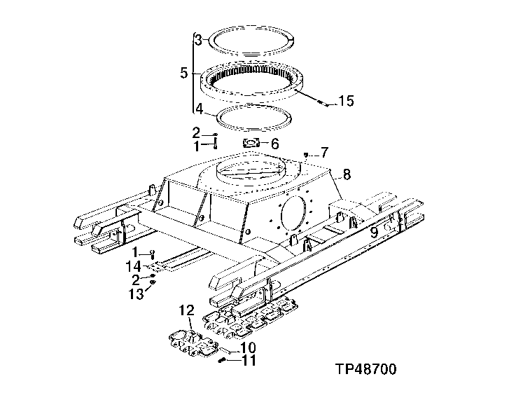
1

19H3126

CAP SCREW

HS, SAE 8, 3/4" X 2-1/4"

36шт.

2

12H236

LOCK WASHER

3/4"

36шт.

3

T61191

SEAL

TOP SEAL (USED WHEN AT40779 HAS BEEN INSTALLED AS A REPLACEMENT PART) (SUB FOR AT40778 AND AT58761) (ALSO ORDER AT63519)

1шт.

4

T61192

SEAL

BOTTOM SEAL ( AT58762 NO LONGER AVAILABLE) (SUB FOR AT41966 AND AT58762) (ALSO ORDER AT63519)

1шт.

5

AT40779

SWING BEARING

(SUB FOR AT32925 AND U46123)

1шт.

6

U46163

PLATE

1шт.

7

15H585

PIPE PLUG

SQ. HD., 3/4"

1шт.

8

FRAME

(NO LONGER AVAILABLE)

1шт.

9

JD7799

LUBRICATION FITTING

65°, 1/8", (SUB FOR JD7807)

8шт.

10

488781

DOWEL PIN

(SUB FOR U46208)

180шт.

11

19H3267

CAP SCREW

3/8" X 1-5/8", 3/8" X 1-5/8"

180шт.

12H304

LOCK WASHER

3/8"

360шт.

14H812

NUT

3/8"

180шт.

12

U46207

DRAFT LINK

90шт.

13

14H863

NUT

3/4"

8шт.

14

BAR

( U46209 USE IF AVAILABLE)

2шт.

15

JD7759

LUBRICATION FITTING

4шт.

AT63519

ADHESIVE

148 ML (5 OZ.)

1шт.

Выбрано товаров: 18