Запчасти John Deere 90B 8 - TRACK DRIVE MOTOR 45 - TRACK AND PLANETARY DRIVE

Схема запчастей John Deere 90B - 8 - TRACK DRIVE MOTOR 45 - TRACK AND PLANETARY DRIVE
FIT
1:1
100%

Артикул

Название

Примечание

Количество

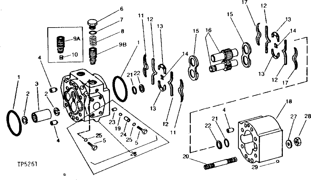
1

T42742

O-RING

(A)

2шт.

2

T23694

SNAP RING

(SUB FOR U46421)

2шт.

3

T42740

SPLINED COUPLING

1шт.

4

U44854

DOWEL PIN

4шт.

5

R27218

FITTING PLUG

(SUB FOR T38848, THIS APPLICATION)

3шт.

6

T42743

FITTING

2шт.

7

U13639

O-RING

(A)

2шт.

8

T42741

SPRING

2шт.

9A

T42738

PISTON

(WITH COLLAR)

2шт.

9B

T42738

PISTON

(WITHOUT COLLAR)

2шт.

10

T42744

ORIFICE

(USE WITH PISTON WITH COLLAR)

2шт.

11

T74341

PLATE

(A) (SUB FOR T46533)

2шт.

12

T46532

ISOLATOR

(A) (SUB FOR T38845, THIS APPLICATION)

4шт.

13

T61324

SEPARATOR

(A) (SUB FOR T38838, THIS APPLICATION)

4шт.

14

T61325

SEPARATOR

(A) CENTER, (SUB FOR T38840, THIS APPLICATION)

2шт.

15

T38839

PLATE

(SUB FOR T46534)

2шт.

16

AT41669

GEAR

MATCHED SET, (SUB AT41666, THIS APPLICATION)

1шт.

17

T74342

PLATE

(A) (SUB FOR T46535)

2шт.

18

T42735

HOUSING

(SUB AT41666)

1шт.

19

400R

BALL

6.35 MM (1/4") (SUB FOR U44850)

2шт.

20

T42746

STUD

8шт.

21

T61327

O-RING

(A) (SUB FOR U15415 AND T38850, THIS APPLICATION)

4шт.

22

T61326

BACK-UP RING

(A) (SUB FOR T38849, THIS APPLICATION)

4шт.

23

34H226

SPRING PIN

3/32" X 7/16"

2шт.

24

T42739

SEAT

2шт.

25

T70177

O-RING

(A) (SUB FOR R26448, THIS APPLICATION)

3шт.

26

AT46048

KIT

VALVE, (SUB FOR T42736) (SUB AT55627)

1шт.

AT55627

KIT

VALVE, (SUB FOR T42736)

1шт.

27

U44865

WASHER

8шт.

28

U44860

NUT

8шт.

29

400R

BALL

6.35 MM (1/4")

1шт.

AT41666

KIT

REAR SECTION (CONTAINS ALL PARTS ABOVE EXCEPT KEYS 10, 20, 27 AND 28)

1шт.

AT69137

KIT

(SUB FOR AT68221) REAR SECTION

1шт.

AT105429

KIT

(SUB FOR AT50582 FRONT SECTION AND AT50583 REAR SECTION) (ALSO INCLUDES (2) H63283 O-RING)

1шт.

Выбрано товаров: 0