Запчасти John Deere 90B 54 - REPLACEMENT COMBINED FLOW INLET SECTION VALVE 50 - HYDRAULIC PUMP AND CONTROL VALVE

Схема запчастей John Deere 90B - 54 - REPLACEMENT COMBINED FLOW INLET SECTION VALVE 50 - HYDRAULIC PUMP AND CONTROL VALVE
FIT
1:1
100%

Артикул

Название

Примечание

Количество

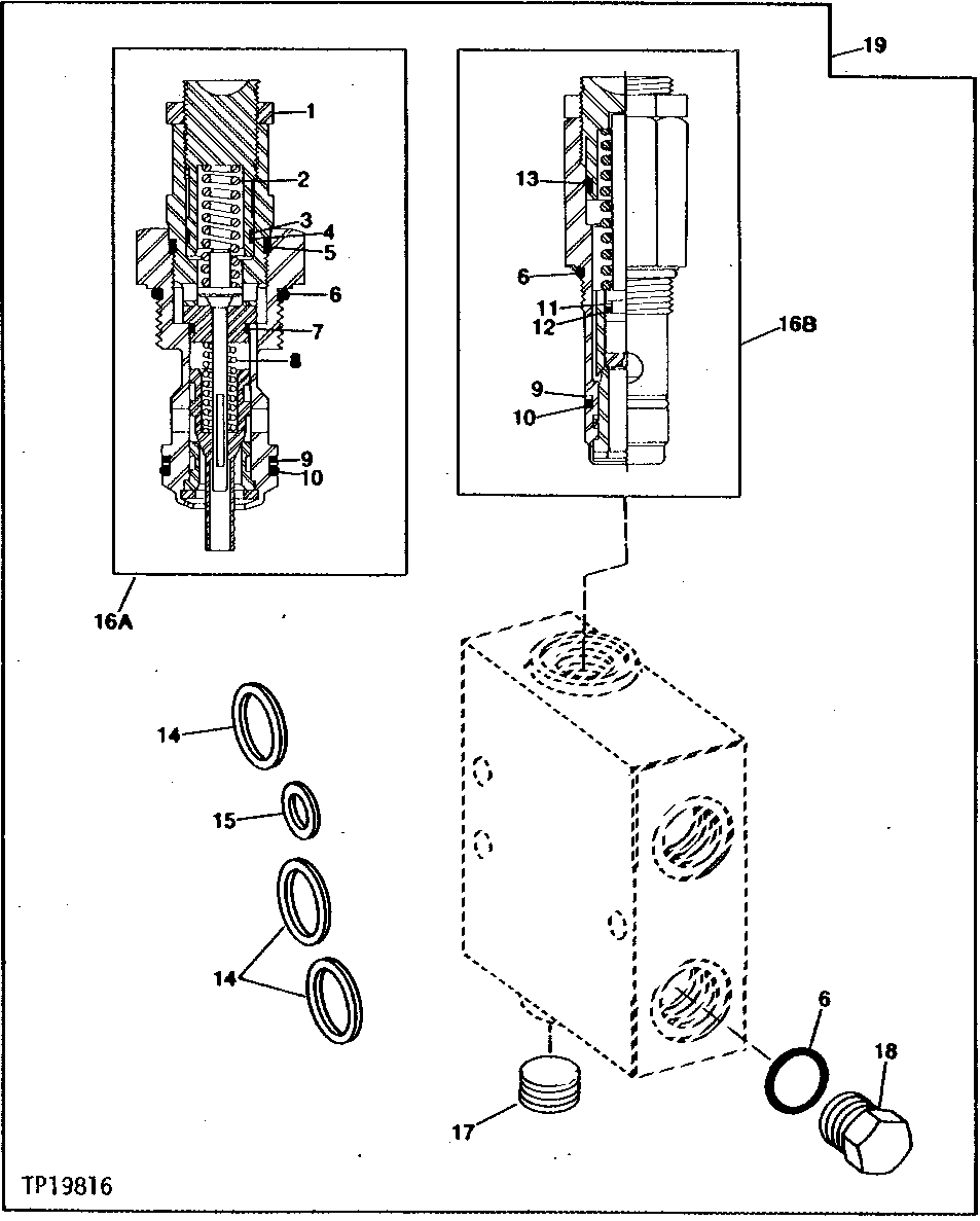
1

LOCK NUT

( T81250 NO LONGER AVAILABLE)

1шт.

2

SPRING

( T81249 NO LONGER AVAILABLE)

1шт.

3

T81247

BACK-UP RING

1шт.

4

H63283

O-RING

1шт.

5

U45857

O-RING

1шт.

6

R29936

O-RING

2шт.

7

R45186

O-RING

1шт.

8

SPRING

( T81248 NO LONGER AVAILABLE)

1шт.

9

U45847

BACK-UP RING

1шт.

10

U45845

O-RING

1шт.

11

T27963

BACK-UP RING

1шт.

12

T59052

O-RING

1шт.

13

R495R

O-RING

1шт.

14

U45843

WASHER

1шт.

15

U45844

WASHER

1шт.

16A

AT82529

RELIEF VALVE

(SUB AU43591)

1шт.

16B

AU43591

PRESSURE RELIEF VALVE

1шт.

17

15H562

PIPE PLUG

1"

1шт.

18

R36636

FITTING PLUG

1шт.

19

AT114810

VALVE

(SUB FOR AT82535)

1шт.

Выбрано товаров: 20