Запчасти John Deere 90B 3 - BEARING BRACKET AND CONTROL VALVE LINKAGE 55 - OPERATING CONTROL LEVERS AND LINKAGE

Схема запчастей John Deere 90B - 3 - BEARING BRACKET AND CONTROL VALVE LINKAGE 55 - OPERATING CONTROL LEVERS AND LINKAGE
FIT
1:1
100%

Артикул

Название

Примечание

Количество

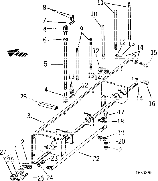
1

JD8555

BALL BEARING

4шт.

2

L2287C

PRESSED FLANGED HOUSING

8шт.

3

AT54694

BRACKET

(SUB FOR AU43619) (ALSO ORDER AT54702, (2) U45935, (2) U45928, (4) 12H304, (4) 14H812, (4) 19H2633)

1шт.

4

U16202

YOKE

12шт.

5

U45944

STUD

(R.H. TRAVEL)

1шт.

6

14H826

NUT

1/2"

12шт.

7

U46245

PIN FASTENER

12шт.

8

11M7015

COTTER PIN

3.200 X 25 MM

24шт.

9

U45945

STUD

(CROWD AND BOOM)

2шт.

10

U45947

STUD

(BUCKET)

1шт.

11

U45946

STUD

(SWING AND L.H. TRAVEL)

2шт.

12

14H1040

NUT

1/2", (SUB FOR 14H809)

11шт.

13

12H301

LOCK WASHER

1/2"

11шт.

14

24H1254

WASHER

17/32" X 1-1/8" X 0.105"

20шт.

15

19H2993

CAP SCREW

1/2" X 1-1/2"

10шт.

16

19H2469

CAP SCREW

1/2" X 2-1/4"

1шт.

17

19H2633

CAP SCREW

3/8" X 1-1/2"

4шт.

18

U45943

BELLCRANK

HALF

1шт.

19

U45928

BELLCRANK

HALF

2шт.

20

12H304

LOCK WASHER

3/8"

4шт.

21

14H812

NUT

3/8"

4шт.

22

AT54705

ROD

R.H. TRAVEL PIVOT, (SUB FOR AU43627)

1шт.

23

14H785

NUT

5/16"

16шт.

24

12H303

LOCK WASHER

5/16"

16шт.

25

03H1540

BOLT

5/16" X 3/4"

16шт.

26

E18630

SET SCREW

1шт.

27

JD8554

ECCENTRIC LOCKING COLLAR

4шт.

28

MOLDING

(MAKE FROM T58056, 15 M (50') BULK) (SUB FOR T61798, THIS APPLICATION)

ARшт.

Выбрано товаров: 28