Запчасти John Deere 90B 2 - CYLINDER BLOCK, FITTINGS AND MAIN BEARING CAP 10 - ENGINE

Схема запчастей John Deere 90B - 2 - CYLINDER BLOCK, FITTINGS AND MAIN BEARING CAP 10 - ENGINE
FIT
1:1
100%

Артикул

Название

Примечание

Количество

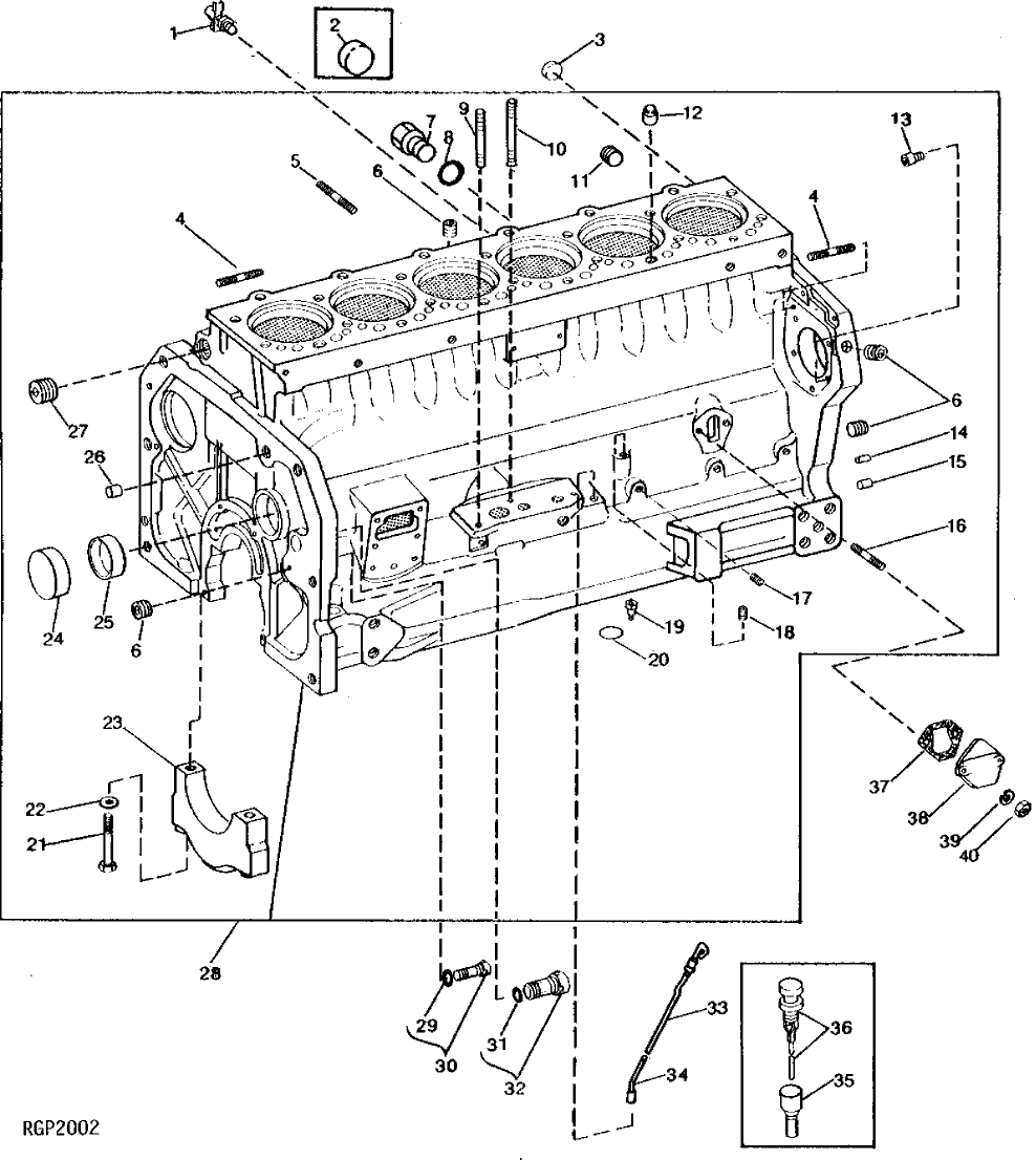
1

AT13740

DRAIN VALVE

1шт.

2

AR80294

PLUG

(LESS COOLANT HEATER)

1шт.

3

R27036

PLUG

(LESS HEATER)

1шт.

4

R114130

STUD

(SUB FOR R55396, APPL)

5шт.

5

R51284

STUD

2шт.

6

RE57836

PIPE PLUG

1/2", (SUB FOR AR72319 OR 15H624)

5шт.

7

R39741

DRAIN PLUG

1шт.

8

U13639

O-RING

1шт.

9

R106859

STUD

(SUB FOR F3646R OR R26622, APPL)

1шт.

10

R55395

STUD

1шт.

11

15H690

PIPE PLUG

3/4", (SUB FOR AR72318)

2шт.

12

R42340

BUSHING

2шт.

13

22H776

SET SCREW

5/16" X 7/16", (SUB FOR R56545)

3шт.

14

R1612R

DOWEL PIN

2шт.

15

F1743R

DOWEL PIN

2шт.

16

R48755

STUD

2шт.

17

R104592

PIPE PLUG

(SUB FOR R21630, APPL)

5шт.

18

R104592

PIPE PLUG

1шт.

19

R43621

ORIFICE

6шт.

20

R71732

O-RING

(SUB FOR R50378)

1шт.

21

T15539

BOLT

(USE WITH BLOCK MARKED R49470 OR R49650)

14шт.

R42365

BOLT

(USE WITH R59850, R72128 OR R87558)

14шт.

22

R70268

WASHER

(SUB FOR R42363)

14шт.

23

R57158

BEARING CAP

(MAIN)

6шт.

R57159

BEARING CAP

(MAIN THRUST)

1шт.

24

R26115

PLUG

1шт.

25

R46903

BUSHING

4шт.

26

R61288

DOWEL PIN

1шт.

27

15H562

PIPE PLUG

1", (SUB FOR AR78522)

1шт.

28

AR63271

CYLINDER BLOCK

(A) (MARKED R49650)

1шт.

AR94840

CYLINDER BLOCK

(A) (MARKED R59850 OR R72128) (SUB FOR AR63271)

1шт.

29

A4365R

O-RING

1шт.

30

AR61589

PLUG

1шт.

31

R27149

O-RING

1шт.

32

AR61533

PLUG

1шт.

33

AR100478

DIPSTICK

(USE WITH R72128)

1шт.

34

AR71850

DIPSTICK TUBE

(USE WITH R72128)

1шт.

35

AR54557

TUBE

(SUB AR100478 AND AR71850) (USE WITH R49650 OR R59850)

1шт.

36

AR58986

DIPSTICK

(SUB AR100478 AND AR71850) (USE WITH R49650 OR R59850)

1шт.

37

R520618

GASKET

(SUB FOR R97350, R27285)

1шт.

38

R27286

COVER

1шт.

39

12H303

LOCK WASHER

5/16"

2шт.

40

14H785

NUT

5/16"

2шт.

Выбрано товаров: 43