Запчасти John Deere 90B 39 - SOLENOID VALVE BLOCK 60 - HYDRAULIC SYSTEM

Схема запчастей John Deere 90B - 39 - SOLENOID VALVE BLOCK 60 - HYDRAULIC SYSTEM
FIT
1:1
100%

Артикул

Название

Примечание

Количество

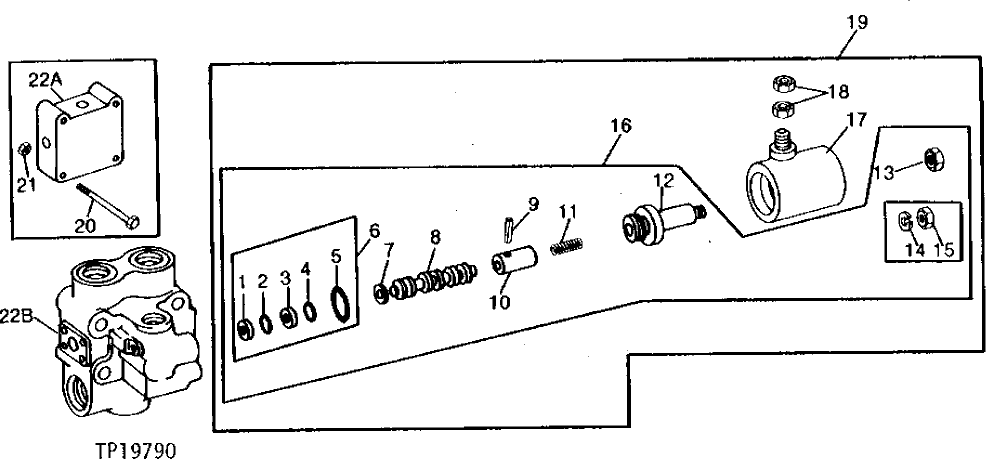
1

R42926

BACK-UP RING

1шт.

2

T40308

O-RING

(SUB FOR H81608 AND R45186, THIS APPLICATION)

1шт.

3

R45187

BACK-UP RING

1шт.

4

R45638

O-RING

1шт.

5

U12547

O-RING

1шт.

6

AT66730

KIT

1шт.

7

SNAP RING

(SUB RE21872 FOR R46701, THIS APPLICATION)

1шт.

8

SPOOL VALVE

(SUB RE21872 FOR AR48902, THIS APPLICATION)

1шт.

9

SPRING PIN

(SUB RE21872 FOR 34H227, THIS APPLICATION)

1шт.

10

PLUNGER

(SUB RE21872 FOR R45250, THIS APPLICATION)

1шт.

11

SPRING

(SUB RE21872 FOR R45251, THIS APPLICATION)

1шт.

12

GUIDE

(SUB RE21872 FOR AR48903, THIS APPLICATION)

1шт.

13

M63707

LOCK NUT

1шт.

14

12H297

LOCK WASHER

1/4", (SUB M63707, THIS APPLICATION)

1шт.

15

14H786

NUT

1/4", (SUB M63707, THIS APPLICATION)

1шт.

16

VALVE

(SUB RE21872)

1шт.

17

ELECTRICAL COIL

(SUB AT65115 ALONG WITH AT66692 FOR AR53047, THIS APPLICATION) SOME MODIFICATION REQUIRED WHEN USED WITH T42605 VALVE BLOCK

1шт.

18

14H605

NUT

0.164"

2шт.

19

SOLENOID VALVE

(FURNISH RE21872) (ALSO ORDER AT66692)

2шт.

20

08H4086

CAP SCREW

5/8" X 6-3/4"

4шт.

21

14H1039

NUT

5/8"

4шт.

22A

T42605

VALVE

BLOCK, (SUB AT55974)

1шт.

22B

AT55974

RELIEF VALVE

1шт.

Выбрано товаров: 23