Запчасти John Deere 90B 14 - BUCKET CYLINDER 65 - BOOM, DIPPERSTICK, BUCKETS AND CYLINDERS

Схема запчастей John Deere 90B - 14 - BUCKET CYLINDER 65 - BOOM, DIPPERSTICK, BUCKETS AND CYLINDERS
FIT
1:1
100%

Артикул

Название

Примечание

Количество

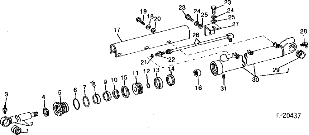
1

U46436

BUSHING

1шт.

2

AU43224

ROD

1шт.

3

JD7759

LUBRICATION FITTING

1/8"

1шт.

4

U45832

SEAL

(A)

1шт.

5

R69276

GUIDE

(SUB FOR T38716) (USE WITH AT37536)

1шт.

R77566

GUIDE

(USE WITH RE11341)

1шт.

6

R78818

BACK-UP RING

(A) (SUB FOR T38484, THIS APPLICATION)

1шт.

7

T38485

O-RING

(A)

1шт.

T70176

O-RING

(A)

1шт.

8

U45830

PISTON RING

(A)

1шт.

9

R76781

SEAL

(A) (SUB FOR T36188)

1шт.

10

SNAP RING

( U45829 NO LONGER AVAILABLE)

1шт.

11

R81108

PISTON

(SUB FOR T38717 AND T52506) (ALSO ORDER RE14102, U46616, P50631, (2) R78393 AND U43399)

1шт.

12

P50631

O-RING

(A)

1шт.

13

T52425

PACKING

(A) (SUB FOR T32937)

1шт.

14

U45180

WEAR RING

(A)

1шт.

15

U46616

PISTON RING

1шт.

16

U43399

LOCK NUT

1шт.

17

T38721

SHIELD

1шт.

18

12H301

LOCK WASHER

1/2"

6шт.

19

19H2472

CAP SCREW

1/2" X 1"

6шт.

20

24H1111

WASHER

17/32" X 1-1/16" X 0.090"

6шт.

21

R29936

O-RING

1шт.

22

T26767

FITTING

(SUB FOR AU43250)

1шт.

23

19H3483

CAP SCREW

3/8" X 1-1/8"

2шт.

24

12H304

LOCK WASHER

3/8"

2шт.

25

24H1305

WASHER

13/32" X 13/16" X 0.065"

2шт.

26

AT37540

TUBE

1шт.

27

T38720

ANGLE

1шт.

28

JD7781

LUBRICATION FITTING

90°, 1/8"

1шт.

29

U45831

BUSHING

1шт.

30

AT37537

HYDRAULIC CYLINDER BARREL

1шт.

31

22H842

SET SCREW

1/4" X 5/16"

1шт.

AT37536

CYLINDER

(LESS RETURN TUBE, SHIELD, CLAMP AND HARDWARE) (SUB RE11341)

1шт.

RE11341

CYLINDER

(LESS RETURN TUBE, SHIELD, CLAMP AND HARDWARE)

1шт.

AR105312

HYDRAULIC CYLINDER KIT

(SUB FOR AT37322)

1шт.

Выбрано товаров: 36