Запчасти John Deere 90B 25 - BUCKETS 65 - BOOM, DIPPERSTICK, BUCKETS AND CYLINDERS

Схема запчастей John Deere 90B - 25 - BUCKETS 65 - BOOM, DIPPERSTICK, BUCKETS AND CYLINDERS
FIT
1:1
100%

Артикул

Название

Примечание

Количество

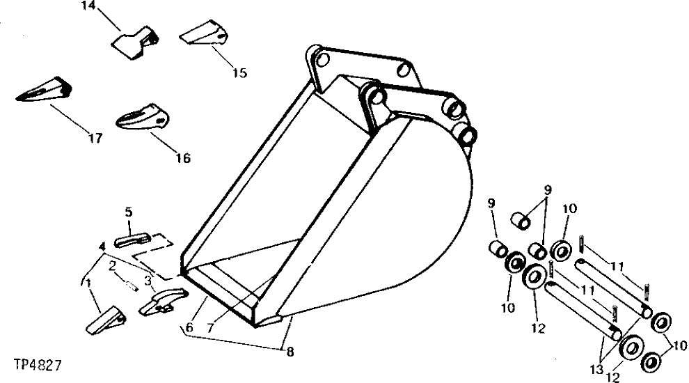
1

T252

TOOTH

(SUB FOR AT33513 AND T72583) (4 USED WITH 24" AND 30" BUCKETS, 5 USED WITH 36" BUCKET)

ARшт.

2

U45574

PIN

(609.6 MM AND 762.0 MM) (4 USED WITH 24" AND 30" BUCKETS, 5 USED WITH 36" (914.4 MM) BUCKET)

ARшт.

3

T440X252

BUCKET TOOTH ADAPTER

(SUB FOR U45349)

1шт.

4

KIT

( AT33512 NO LONGER AVAILABLE) (609.6 MM AND 762.0 MM) (4 USED WITH 24" AND 30" BUCKETS, 5 USED WITH 36" BUCKET)

ARшт.

5

T34533

CORNER

R.H

1шт.

T34534

CORNER

L.H

1шт.

6

U45371

CUTTING EDGE

609.6 MM (24") BUCKET

1шт.

U45368

CUTTING EDGE

762 MM (30") BUCKET

1шт.

U45363

CUTTING EDGE

914.4 MM (36") BUCKET

1шт.

7

U45364

CUTTING EDGE

SIDE, R.H

1шт.

U45365

CUTTING EDGE

SIDE, L.H

1шт.

8

EXCAVATOR BUCKET

609.6 MM (24") COMPLETE WITH PINS, COTTER PINS AND WASHERS (SUB FOR AT34772) ( AT34745 NO LONGER AVAILABLE)

1шт.

EXCAVATOR BUCKET

762 MM (30") COMPLETE, WITH PINS, COTTER PINS AND WASHERS, (SUB FOR AT34772) ( AT34746 NO LONGER AVAILABLE)

1шт.

EXCAVATOR BUCKET

914.4 MM (36") COMPLETE WITH PINS, COTTER PINS AND WASHERS (SUB FOR AT34773) ( AT34747 NO LONGER AVAILABLE)

1шт.

9

U45351

BUSHING

6шт.

10

U43779

WASHER

4шт.

11

11H277

COTTER PIN

1/2" X 4"

4шт.

12

T67205

THRUST WASHER

(SUB FOR U41077)

2шт.

13

U45205

PIN FASTENER

2шт.

14

T250F

TOOTH

(4 USED WITH 24" AND 30" BUCKETS, 5 USED WITH 36" BUCKET) (SUB FOR AT69755 AND AT135911)

ARшт.

15

T252

TOOTH

(SUB FOR T72583) (4 USED WITH 24" AND 30" BUCKETS, 5 USED WITH 36" BUCKET)

ARшт.

16

T252ST

TOOTH

(SUB FOR T72581) (4 USED WITH 24" AND 30" BUCKETS, 5 USED WITH 36" BUCKET)

ARшт.

17

T252ST

TOOTH

(4 USED WITH 24" AND 30" BUCKETS, 5 USED WITH 36" BUCKET) (SUB FOR T72582 AND T72581)

ARшт.

Выбрано товаров: 23