Запчасти John Deere 90B 21 - COUNTERWEIGHT 70 - GRILLE, HOOD, FENDERS AND BUMPER

Схема запчастей John Deere 90B - 21 - COUNTERWEIGHT 70 - GRILLE, HOOD, FENDERS AND BUMPER
FIT
1:1
100%

Артикул

Название

Примечание

Количество

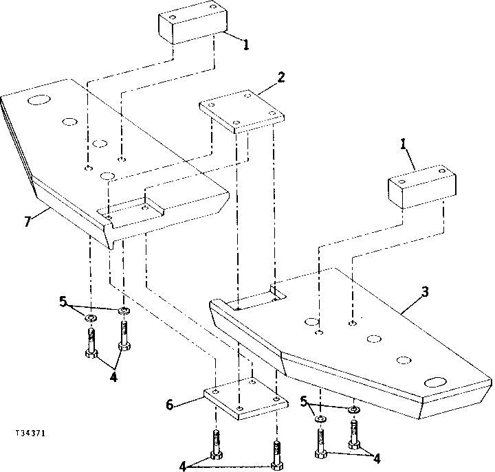
1

T43573

STRAP

(A)

2шт.

2

T43572

PLATE

(A)

1шт.

3

T43569

COUNTERWEIGHT

RIGHT (USED WITH T43570) (IF AVAILABLE SUB T61052 AND T61053)

1шт.

COUNTERWEIGHT

RIGHT ( T61052 USE IF AVAILABLE)

1шт.

4

19H2825

CAP SCREW

(A) HS, SAE 8, 3/4" X 4-1/4"

8шт.

5

U10104

BUSHING

(A)

4шт.

6

T43571

PLATE

(A)

1шт.

7

COUNTERWEIGHT

LEFT (USED WITH T43569) (IF AVAILABLE SUB T61052 AND T61053)

1шт.

COUNTERWEIGHT

LEFT ( T61053 USE IF AVAILABLE)

1шт.

AT42471

COUNTERWEIGHT

(NO LONGER AVAILABLE)

1шт.

AT46453

MOUNTING PARTS

FOR COUNTERWEIGHT

1шт.

Выбрано товаров: 0