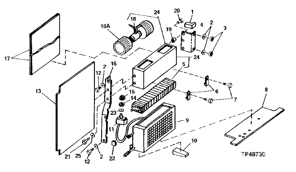
Запчасти John Deere 90B 22 - HEATER AND AIR CONDITIONING ASSEMBLY 75 - CAB

Схема запчастей John Deere 90B - 22 - HEATER AND AIR CONDITIONING ASSEMBLY 75 - CAB
FIT
1:1
100%

Артикул

Название

Примечание

Количество

1

T58365

ISOLATOR

1шт.

2

24H1305

WASHER

13/32" X 13/16" X 0.065"

4шт.

3

14H812

NUT

3/8"

2шт.

4

T58368

ANGLE

(A)

1шт.

5

AT56095

CORE

(A)

1шт.

6

T59954

CLIP

2шт.

7

37H20

SCREW

NO. 8 X 3/8"

2шт.

8

T58361

ISOLATOR

1шт.

9

AT56094

EVAPORATOR

(A)

1шт.

10

T58364

ISOLATOR

1шт.

11

AT61602

SWITCH

(A) THERMAL

1шт.

12

19H1648

CAP SCREW

3/8" X 3/4"

2шт.

13

T58363

ISOLATOR

1шт.

14

R44165

LOCK NUT

1шт.

15

AL58295

KNOB

(SUB FOR AR69370)

1шт.

16

T58369

BRACKET

(A)

1шт.

17

T135326

ISOLATOR

UPPER REAR PANEL, (SUB FOR T39545)

1шт.

18

AT74857

ELECTRIC MOTOR

1шт.

18A

AT66343

BLOWER FAN

(SET OF TWO)

1шт.

19

28H1882

SPACER

1/8" X 1/2"

2шт.

20

19H1914

CAP SCREW

1/4" X 1"

2шт.

21

19H1948

CAP SCREW

1/4" X 3/4"

4шт.

22

T59951

CLIP

1шт.

23

24H1340

WASHER

33/64" X 7/8" X 0.075"

1шт.

24

AT55764

HEATER

(A)

1шт.

25

24H1821

WASHER

9/32" X 47/64" X 1/16"

4шт.

AIR CONDITIONER

(INCLUDES HARDWARE WIRING, CONDENSER, DEHYDRATOR AND EVAPORATOR) ( AT62373 NO LONGER AVAILABLE)

1шт.

AIR CONDITIONER

AND HEATER ASSEMBLY ( AT56091 NO LONGER AVAILABLE) (SUB AT61602, AT56094, AT55764 AND (2) T59954)

1шт.

Выбрано товаров: 28