Запчасти John Deere 90B 2 - INSTRUMENT PANELS AND INSTRUMENTS 80 - INSTRUMENTS, SWITCHES, GAUGES AND WIRING

Схема запчастей John Deere 90B - 2 - INSTRUMENT PANELS AND INSTRUMENTS 80 - INSTRUMENTS, SWITCHES, GAUGES AND WIRING
FIT
1:1
100%

Артикул

Название

Примечание

Количество

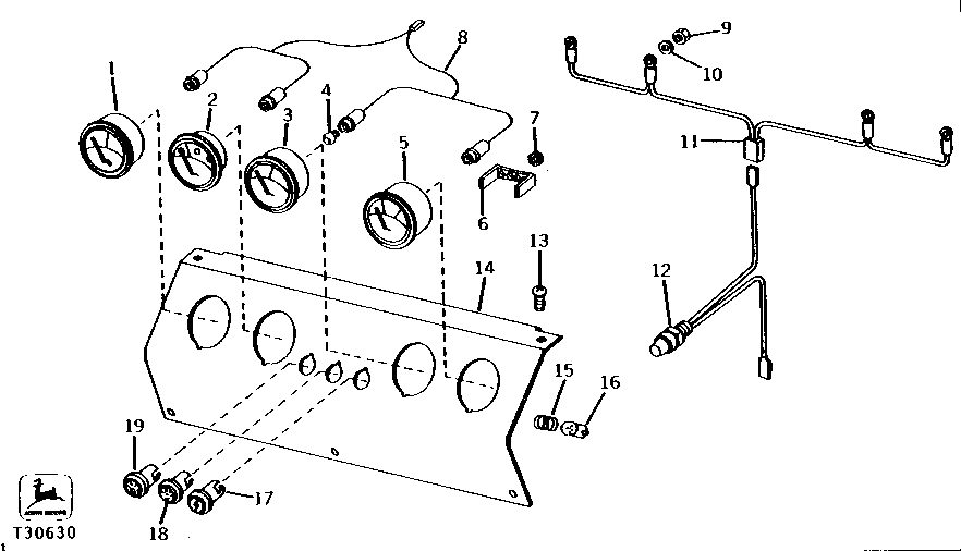
1

AT41209

GAUGE

HYDRAULIC OIL TEMPERATURE

1шт.

2

AT61468

GAUGE

(SUB FOR AT39733) FUEL

1шт.

3

GAUGE

WATER TEMPERATURE (STEWART-WARNER) (SUB AT149018) (SUB FOR AT37410) ( AT61467 USE IF AVAILABLE)

1шт.

AT104755

TEMPERATURE GAUGE

(K) WATER TEMPERATURE (VDO)

1шт.

4

T40990

BULB

(SUB FOR AT22970, THIS APPLICATION)

4шт.

5

AT39728

GAUGE

ENGINE OIL PRESSURE

1шт.

6

T39395

BRACKET

4шт.

T118593

BRACKET

(K)

1шт.

7

14H631

NUT

0.190"

1шт.

14M7139

NUT

(K) (SUB FOR 14M7100)

2шт.

8

AT41803

WIRING HARNESS

LIGHT GAUGE, (SUB FOR AT41210)

1шт.

9

14H650

NUT

5/16"

4шт.

10

12M7084

LOCK WASHER

4.300 MM

4шт.

11

AU43578

WIRING HARNESS

GAUGE (WITHOUT PILOT CONTROLS)

1шт.

AT68919

WIRING HARNESS

GAUGE (WITH PILOT CONTROLS)

1шт.

12

AT164924

FUSE HOLDER

(SUB FOR AT14193) (ALSO ORDER T82427) (WITHOUT PILOT CONTROLS)

1шт.

AT170066

KNOB

(SUB FOR AT16799) FUSE HOLDER

1шт.

AH76113

FUSE

20 AMP

1шт.

T82427

WASHER

(USE WITH FUSE HOLDER)

1шт.

13

T14744

SCREW

1/4" X 5/8" (WITHOUT PILOT CONTROLS)

5шт.

14

T42291

PANEL

(WITHOUT PILOT CONTROLS)

1шт.

15

R30378

SPRING

3шт.

16

AR55694

BULB

3шт.

17

AT48673

LENS

ALTERNATOR, (SUB FOR AR45438)

1шт.

18

AR45439

LENS

AIR FILTER

1шт.

19

AR45446

LENS

HYDRAULIC OIL FILTER

1шт.

Выбрано товаров: 0